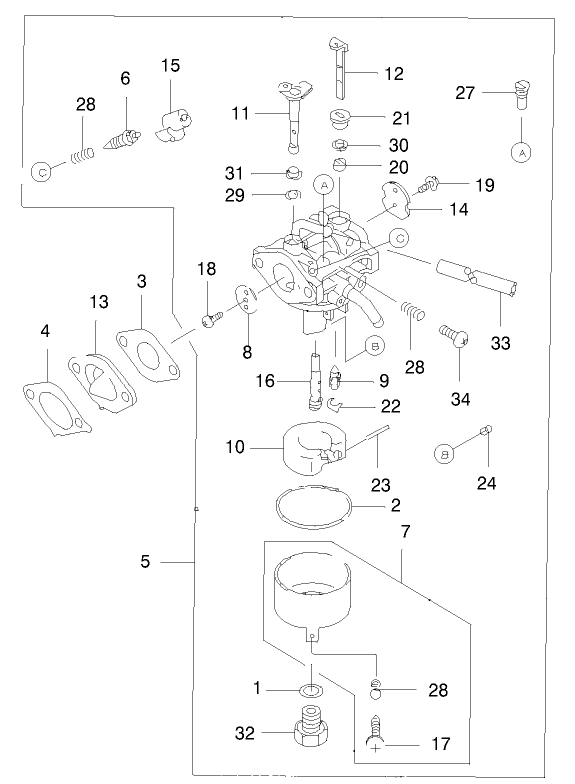
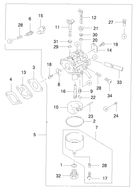
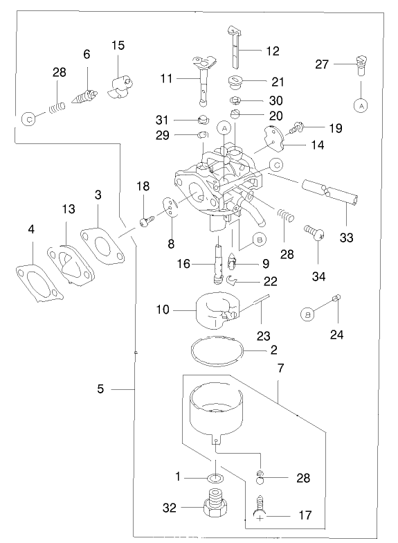
Diagrams:

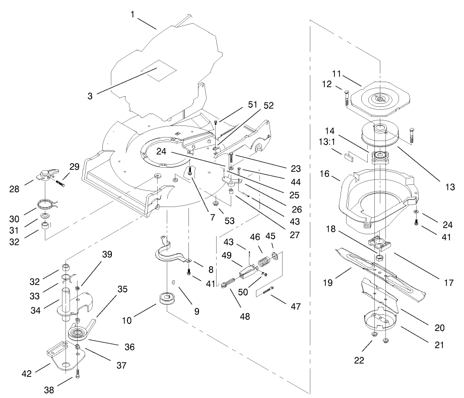
Diagram:

SUBSCRIBE AND GET EXCLUSIVE DEALS!

Subscribe to our newsletter TODAY and GET $10 OFF your next order of $100 or more. Our newsletter contains special offers, discounts and updates on new EGO products