Toro 22172 Recycler Mower (Serial #: 210000001 - 210999999) Parts Diagram
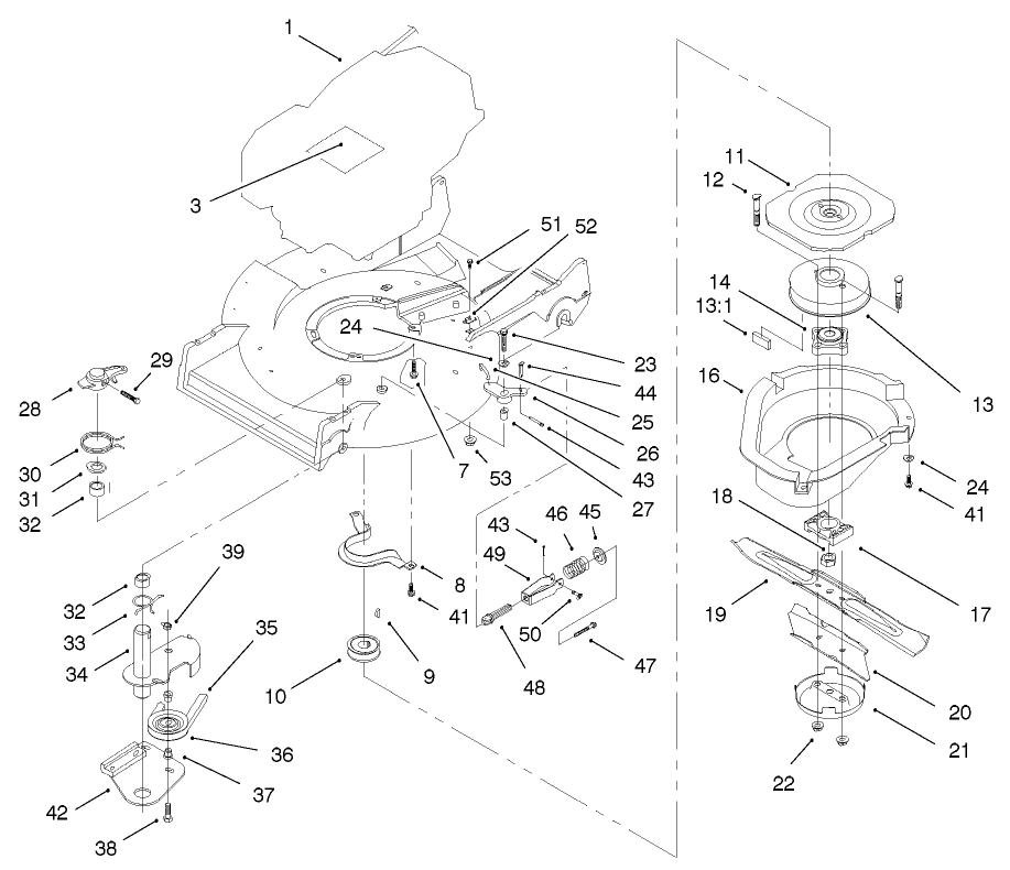
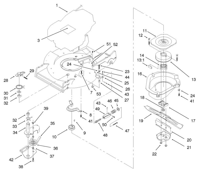
Diagrams:
Diagram:
Air Filter And Muffler Assembly

Air Filter And Muffler Assembly
| Sequence Number | Image | Product | Price | Add to cart |
|---|---|---|---|---|
|
|
100-2691
100-2691
Contact us at support@powerplusparts.com to purchase |
|||
|
|
100-2692
100-2692
Contact us at support@powerplusparts.com to purchase |
|||
|
|
100-2693
100-2693
Contact us at support@powerplusparts.com to purchase |
|||
|
|
100-2694
100-2694
Contact us at support@powerplusparts.com to purchase |
|||
|
|
100-2695
100-2695
Contact us at support@powerplusparts.com to purchase |
|||
|
|
100-2696
100-2696
Contact us at support@powerplusparts.com to purchase |
|||
|
|
100-2697
100-2697
Contact us at support@powerplusparts.com to purchase |
|||
|
|
100-2698
100-2698
Contact us at support@powerplusparts.com to purchase |
|||
|
|
100-2699
100-2699
Contact us at support@powerplusparts.com to purchase |
|||
|
|
100-2750
100-2750
Contact us at support@powerplusparts.com to purchase |
|||
|
|
93-8549
93-8549
Contact us at support@powerplusparts.com to purchase |
|||
|
|
95-9716
95-9716
Contact us at support@powerplusparts.com to purchase |
|||
|
|
119-5954
119-5954
Contact us at support@powerplusparts.com to purchase |
|||
|
|
100-2754
100-2754
Contact us at support@powerplusparts.com to purchase |
|||
|
|
100-2755
100-2755
Contact us at support@powerplusparts.com to purchase |
|||
|
|
100-2756
100-2756
Contact us at support@powerplusparts.com to purchase |
|||
|
|
100-2757
100-2757
Contact us at support@powerplusparts.com to purchase |
|||
|
|
100-2758
100-2758
Contact us at support@powerplusparts.com to purchase |
|||
|
|
100-2759
100-2759
Contact us at support@powerplusparts.com to purchase |
|||
|
|
100-2760
100-2760
Contact us at support@powerplusparts.com to purchase |
|||
|
|
100-2761
100-2761
Contact us at support@powerplusparts.com to purchase |
|||
|
|
100-2762
100-2762
Contact us at support@powerplusparts.com to purchase |
|||
|
|
100-2763
100-2763
Contact us at support@powerplusparts.com to purchase |
|||
|
|
93-8639
93-8639
Contact us at support@powerplusparts.com to purchase |
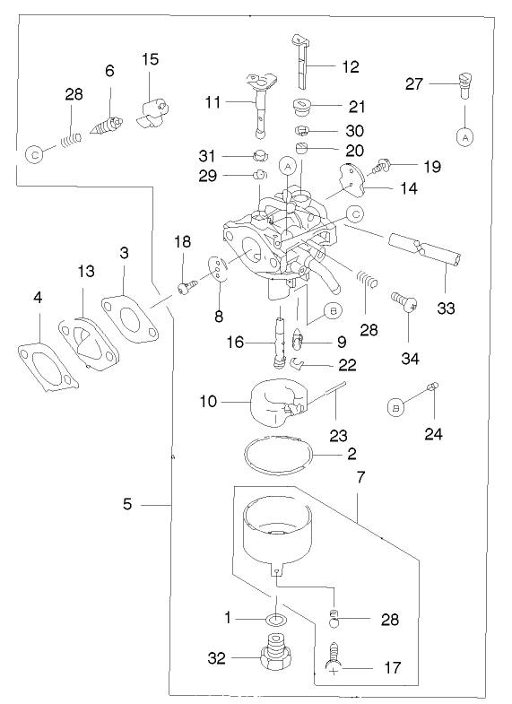
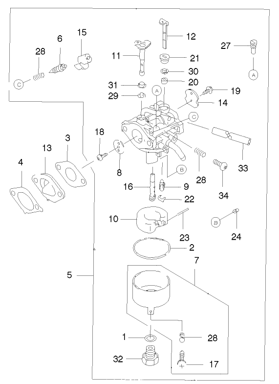
Carburetor Assembly

Carburetor Assembly
| Sequence Number | Image | Product | Price | Add to cart |
|---|---|---|---|---|
|
|
100-2611
100-2611
Contact us at support@powerplusparts.com to purchase |
|||
|
|
100-2612
100-2612
Contact us at support@powerplusparts.com to purchase |
|||
|
|
100-2613
100-2613
Contact us at support@powerplusparts.com to purchase |
|||
|
|
100-2614
100-2614
Contact us at support@powerplusparts.com to purchase |
|||
|
|
100-2615
100-2615
Contact us at support@powerplusparts.com to purchase |
|||
|
|
100-2616
100-2616
Contact us at support@powerplusparts.com to purchase |
|||
|
|
100-2617
100-2617
Contact us at support@powerplusparts.com to purchase |
|||
|
|
100-2618
100-2618
Contact us at support@powerplusparts.com to purchase |
|||
|
|
100-2619
100-2619
Contact us at support@powerplusparts.com to purchase |
|||
|
|
100-2620
100-2620
Contact us at support@powerplusparts.com to purchase |
|||
|
|
100-2621
100-2621
Contact us at support@powerplusparts.com to purchase |
|||
|
|
100-2622
100-2622
Contact us at support@powerplusparts.com to purchase |
|||
|
|
100-2623
100-2623
Contact us at support@powerplusparts.com to purchase |
|||
|
|
100-2624
100-2624
Contact us at support@powerplusparts.com to purchase |
|||
|
|
100-2625
100-2625
Contact us at support@powerplusparts.com to purchase |
|||
|
|
100-2626
100-2626
Contact us at support@powerplusparts.com to purchase |
|||
|
|
100-2627
100-2627
Contact us at support@powerplusparts.com to purchase |
|||
|
|
100-2628
100-2628
Contact us at support@powerplusparts.com to purchase |
|||
|
|
100-2629
100-2629
Contact us at support@powerplusparts.com to purchase |
|||
|
|
100-2630
100-2630
Contact us at support@powerplusparts.com to purchase |
|||
|
|
100-2631
100-2631
Contact us at support@powerplusparts.com to purchase |
|||
|
|
KW10297
KW10297
Contact us at support@powerplusparts.com to purchase |
|||
|
|
100-2633
100-2633
Contact us at support@powerplusparts.com to purchase |
|||
|
|
100-2634
100-2634
Contact us at support@powerplusparts.com to purchase |
|||
|
|
100-2635
100-2635
Contact us at support@powerplusparts.com to purchase |
|||
|
|
100-2636
100-2636
Contact us at support@powerplusparts.com to purchase |
|||
|
|
100-2637
100-2637
Contact us at support@powerplusparts.com to purchase |
|||
|
|
100-2638
100-2638
Contact us at support@powerplusparts.com to purchase |
|||
|
|
100-2639
100-2639
Contact us at support@powerplusparts.com to purchase |
|||
|
|
100-2640
100-2640
Contact us at support@powerplusparts.com to purchase |
|||
|
|
100-2641
100-2641
Contact us at support@powerplusparts.com to purchase |
|||
|
|
100-2642
100-2642
Contact us at support@powerplusparts.com to purchase |
Control Linkage Assembly

Control Linkage Assembly
| Sequence Number | Image | Product | Price | Add to cart |
|---|---|---|---|---|
|
|
Contact us at support@powerplusparts.com to purchase |
|||
|
|
100-2700
100-2700
Contact us at support@powerplusparts.com to purchase |
|||
|
|
100-2701
100-2701
Contact us at support@powerplusparts.com to purchase |
|||
|
|
100-2702
100-2702
Contact us at support@powerplusparts.com to purchase |
|||
|
|
100-2703
100-2703
Contact us at support@powerplusparts.com to purchase |
|||
|
|
100-2704
100-2704
Contact us at support@powerplusparts.com to purchase |
|||
|
|
100-2705
100-2705
Contact us at support@powerplusparts.com to purchase |
|||
|
|
100-2706
100-2706
Contact us at support@powerplusparts.com to purchase |
|||
|
|
100-2707
100-2707
Contact us at support@powerplusparts.com to purchase |
|||
|
|
100-2708
100-2708
Contact us at support@powerplusparts.com to purchase |
|||
|
|
93-8611
93-8611
Contact us at support@powerplusparts.com to purchase |
|||
|
|
100-2710
100-2710
Contact us at support@powerplusparts.com to purchase |
|||
|
|
119-5954
119-5954
Contact us at support@powerplusparts.com to purchase |
|||
|
|
93-8595
93-8595
Contact us at support@powerplusparts.com to purchase |
|||
|
|
93-8612
93-8612
Contact us at support@powerplusparts.com to purchase |
|||
|
|
100-2715
100-2715
Contact us at support@powerplusparts.com to purchase |
|||
|
|
95-9849
95-9849
Contact us at support@powerplusparts.com to purchase |
|||
|
|
100-2717
100-2717
Contact us at support@powerplusparts.com to purchase |
|||
|
|
100-2718
100-2718
Contact us at support@powerplusparts.com to purchase |
|||
|
|
93-8588
93-8588
Contact us at support@powerplusparts.com to purchase |
|||
|
|
100-2720
100-2720
Contact us at support@powerplusparts.com to purchase |
|||
|
|
95-9853
95-9853
Contact us at support@powerplusparts.com to purchase |
|||
|
|
Contact us at support@powerplusparts.com to purchase |
|||
|
|
95-9837
95-9837
Contact us at support@powerplusparts.com to purchase |
|||
|
|
100-2724
100-2724
Contact us at support@powerplusparts.com to purchase |
|||
|
|
100-2725
100-2725
Contact us at support@powerplusparts.com to purchase |
|||
|
|
93-8607
93-8607
Contact us at support@powerplusparts.com to purchase |
Cover And Cooling Assembly

Cover And Cooling Assembly
| Sequence Number | Image | Product | Price | Add to cart |
|---|---|---|---|---|
|
|
100-2600
100-2600
Contact us at support@powerplusparts.com to purchase |
|||
|
|
100-2793
100-2793
Contact us at support@powerplusparts.com to purchase |
|||
|
|
100-2794
100-2794
Contact us at support@powerplusparts.com to purchase |
|||
|
|
100-2601
100-2601
Contact us at support@powerplusparts.com to purchase |
|||
|
|
100-2602
100-2602
Contact us at support@powerplusparts.com to purchase |
|||
|
|
100-2603
100-2603
Contact us at support@powerplusparts.com to purchase |
|||
|
|
100-2604
100-2604
Contact us at support@powerplusparts.com to purchase |
|||
|
|
100-2606
100-2606
Contact us at support@powerplusparts.com to purchase |
|||
|
|
100-2605
100-2605
Contact us at support@powerplusparts.com to purchase |
|||
|
|
100-2607
100-2607
Contact us at support@powerplusparts.com to purchase |
|||
|
|
100-2760
100-2760
Contact us at support@powerplusparts.com to purchase |
|||
|
|
100-2609
100-2609
Contact us at support@powerplusparts.com to purchase |
|||
|
|
100-2610
100-2610
Contact us at support@powerplusparts.com to purchase |
Cylinder And Crankcase Assembly

Cylinder And Crankcase Assembly
| Sequence Number | Image | Product | Price | Add to cart |
|---|---|---|---|---|
|
|
100-2742
100-2742
Contact us at support@powerplusparts.com to purchase |
|||
|
|
100-2743
100-2743
Contact us at support@powerplusparts.com to purchase |
|||
|
|
100-2744
100-2744
Contact us at support@powerplusparts.com to purchase |
|||
|
|
100-2745
100-2745
Contact us at support@powerplusparts.com to purchase |
|||
|
|
100-2746
100-2746
Contact us at support@powerplusparts.com to purchase |
|||
|
|
100-2747
100-2747
Contact us at support@powerplusparts.com to purchase |
|||
|
|
100-2748
100-2748
Contact us at support@powerplusparts.com to purchase |
|||
|
|
100-2749
100-2749
Contact us at support@powerplusparts.com to purchase |
|||
|
|
100-2779
100-2779
Contact us at support@powerplusparts.com to purchase |
|||
|
|
100-2780
100-2780
Contact us at support@powerplusparts.com to purchase |
|||
|
|
100-2781
100-2781
Contact us at support@powerplusparts.com to purchase |
|||
|
|
100-2782
100-2782
Contact us at support@powerplusparts.com to purchase |
|||
|
|
100-2840
100-2840
Contact us at support@powerplusparts.com to purchase |
|||
|
|
100-2841
100-2841
Contact us at support@powerplusparts.com to purchase |
|||
|
|
93-8516
93-8516
Contact us at support@powerplusparts.com to purchase |
|||
|
|
100-2842
100-2842
Contact us at support@powerplusparts.com to purchase |
|||
|
|
KW10035
KW10035
Contact us at support@powerplusparts.com to purchase |
|||
|
|
KW10033
KW10033
Contact us at support@powerplusparts.com to purchase |
|||
|
|
100-2610
100-2610
Contact us at support@powerplusparts.com to purchase |
|||
|
|
100-2804
100-2804
Contact us at support@powerplusparts.com to purchase |
|||
|
|
100-2609
100-2609
Contact us at support@powerplusparts.com to purchase |
|||
|
|
100-2843
100-2843
Contact us at support@powerplusparts.com to purchase |
|||
|
|
100-2844
100-2844
Contact us at support@powerplusparts.com to purchase |
|||
|
|
100-2854
100-2854
Contact us at support@powerplusparts.com to purchase |
|||
|
|
100-2846
100-2846
Contact us at support@powerplusparts.com to purchase |
|||
|
|
100-2847
100-2847
Contact us at support@powerplusparts.com to purchase |
|||
|
|
100-2848
100-2848
Contact us at support@powerplusparts.com to purchase |
|||
|
|
93-8549
93-8549
Contact us at support@powerplusparts.com to purchase |
|||
|
|
100-2849
100-2849
Contact us at support@powerplusparts.com to purchase |
|||
|
|
99-6728
99-6728
Contact us at support@powerplusparts.com to purchase |
|||
|
|
99-6729
99-6729
Contact us at support@powerplusparts.com to purchase |
|||
|
|
99-6730
99-6730
Contact us at support@powerplusparts.com to purchase |
|||
|
|
100-2855
100-2855
Contact us at support@powerplusparts.com to purchase |
Dipstick Assembly

Dipstick Assembly
| Sequence Number | Image | Product | Price | Add to cart |
|---|---|---|---|---|
|
|
Contact us at support@powerplusparts.com to purchase |
|||
|
|
Contact us at support@powerplusparts.com to purchase |
|||
|
|
Contact us at support@powerplusparts.com to purchase |
|||
|
|
KW10010
KW10010
Contact us at support@powerplusparts.com to purchase |
|||
|
|
100-2687
100-2687
Contact us at support@powerplusparts.com to purchase |
|||
|
|
100-2688
100-2688
Contact us at support@powerplusparts.com to purchase |
|||
|
|
100-2689
100-2689
Contact us at support@powerplusparts.com to purchase |
|||
|
|
100-2690
100-2690
Contact us at support@powerplusparts.com to purchase |
Engine And Blade Brake Clutch Assembly

Engine And Blade Brake Clutch Assembly
| Sequence Number | Image | Product | Price | Add to cart |
|---|---|---|---|---|
|
|
104-1333
104-1333
Contact us at support@powerplusparts.com to purchase |
|||
|
|
104-1335
104-1335
Contact us at support@powerplusparts.com to purchase |
|||
|
|
100-2835
100-2835
Contact us at support@powerplusparts.com to purchase |
|||
|
|
66-0570-03
66-0570-03
Contact us at support@powerplusparts.com to purchase |
|||
|
|
3257-17
3257-17
Contact us at support@powerplusparts.com to purchase |
|||
|
|
56-6180
56-6180
Contact us at support@powerplusparts.com to purchase |
|||
|
|
56-6160-03
56-6160-03
Contact us at support@powerplusparts.com to purchase |
|||
|
|
42-3190
42-3190
Contact us at support@powerplusparts.com to purchase |
|||
|
|
94-9431
94-9431
Contact us at support@powerplusparts.com to purchase |
|||
|
|
52-3480
52-3480
Contact us at support@powerplusparts.com to purchase |
|||
|
|
42-6890
42-6890
Contact us at support@powerplusparts.com to purchase |
|||
|
|
46-5693
46-5693
Contact us at support@powerplusparts.com to purchase |
|||
|
|
107-4275
107-4275
Contact us at support@powerplusparts.com to purchase |
|||
|
|
121-3611
121-3611
Contact us at support@powerplusparts.com to purchase |
|||
|
|
91-2256-03
91-2256-03
Contact us at support@powerplusparts.com to purchase |
|||
|
|
91-2255-03
91-2255-03
Contact us at support@powerplusparts.com to purchase |
|||
|
|
80-2770
80-2770
Contact us at support@powerplusparts.com to purchase |
|||
|
|
127-6852
127-6852
Contact us at support@powerplusparts.com to purchase |
|||
|
|
32104-107
32104-107
Contact us at support@powerplusparts.com to purchase |
|||
|
|
3256-23
3256-23
Contact us at support@powerplusparts.com to purchase |
|||
|
|
49-2810
49-2810
Contact us at support@powerplusparts.com to purchase |
|||
|
|
49-7960
49-7960
Contact us at support@powerplusparts.com to purchase |
|||
|
|
49-7950
49-7950
Contact us at support@powerplusparts.com to purchase |
|||
|
|
49-2820
49-2820
Contact us at support@powerplusparts.com to purchase |
|||
|
|
32104-96
32104-96
Contact us at support@powerplusparts.com to purchase |
|||
|
|
49-7970
49-7970
Contact us at support@powerplusparts.com to purchase |
|||
|
|
70-1160
70-1160
Contact us at support@powerplusparts.com to purchase |
|||
|
|
68-9780
68-9780
Contact us at support@powerplusparts.com to purchase |
|||
|
|
85-6880
85-6880
Contact us at support@powerplusparts.com to purchase |
|||
|
|
84-9130
84-9130
Contact us at support@powerplusparts.com to purchase |
|||
|
|
42-0884
42-0884
Contact us at support@powerplusparts.com to purchase |
|||
|
|
117-5299
117-5299
Contact us at support@powerplusparts.com to purchase |
|||
|
|
46-5631
46-5631
Contact us at support@powerplusparts.com to purchase |
|||
|
|
322-6
322-6
Contact us at support@powerplusparts.com to purchase |
|||
|
|
3296-47
3296-47
Contact us at support@powerplusparts.com to purchase |
|||
|
|
32144-70
32144-70
Contact us at support@powerplusparts.com to purchase |
|||
|
|
125-1065
125-1065
Contact us at support@powerplusparts.com to purchase |
|||
|
|
3272-1
3272-1
Contact us at support@powerplusparts.com to purchase |
|||
|
|
84-9050
84-9050
Contact us at support@powerplusparts.com to purchase |
|||
|
|
65-5280
65-5280
Contact us at support@powerplusparts.com to purchase |
|||
|
|
84-9100
84-9100
Contact us at support@powerplusparts.com to purchase |
|||
|
|
46-7040
46-7040
Contact us at support@powerplusparts.com to purchase |
|||
|
|
84-8870
84-8870
Contact us at support@powerplusparts.com to purchase |
|||
|
|
84-8880-03
84-8880-03
Contact us at support@powerplusparts.com to purchase |
|||
|
|
84-9040
84-9040
Contact us at support@powerplusparts.com to purchase |
|||
|
|
322-6
322-6
Contact us at support@powerplusparts.com to purchase |
|||
|
|
62-3720
62-3720
Contact us at support@powerplusparts.com to purchase |
|||
|
|
3296-58
3296-58
Contact us at support@powerplusparts.com to purchase |
Flywheel And Ignition Assembly

Flywheel And Ignition Assembly
| Sequence Number | Image | Product | Price | Add to cart |
|---|---|---|---|---|
|
|
100-2798
100-2798
Contact us at support@powerplusparts.com to purchase |
|||
|
|
100-2652
100-2652
Contact us at support@powerplusparts.com to purchase |
|||
|
|
100-2653
100-2653
Contact us at support@powerplusparts.com to purchase |
|||
|
|
KW10087
KW10087
Contact us at support@powerplusparts.com to purchase |
|||
|
|
100-2796
100-2796
Contact us at support@powerplusparts.com to purchase |
|||
|
|
100-2657
100-2657
Contact us at support@powerplusparts.com to purchase |
|||
|
|
100-2658
100-2658
Contact us at support@powerplusparts.com to purchase |
|||
|
|
100-2660
100-2660
Contact us at support@powerplusparts.com to purchase |
|||
|
|
93-8571
93-8571
Contact us at support@powerplusparts.com to purchase |
|||
|
|
KW10676
KW10676
Contact us at support@powerplusparts.com to purchase |
|||
|
|
100-2663
100-2663
Contact us at support@powerplusparts.com to purchase |
|||
|
|
100-2664
100-2664
Contact us at support@powerplusparts.com to purchase |
|||
|
|
100-2665
100-2665
Contact us at support@powerplusparts.com to purchase |
|||
|
|
100-2610
100-2610
Contact us at support@powerplusparts.com to purchase |
|||
|
|
100-2668
100-2668
Contact us at support@powerplusparts.com to purchase |
|||
|
|
93-8568
93-8568
Contact us at support@powerplusparts.com to purchase |
Front Wheel And Tire Assembly

Front Wheel And Tire Assembly
| Sequence Number | Image | Product | Price | Add to cart |
|---|---|---|---|---|
|
|
Contact us at support@powerplusparts.com to purchase |
|||
|
|
53-7740
53-7740
Contact us at support@powerplusparts.com to purchase |
|||
|
|
121-1365-06
121-1365-06
Contact us at support@powerplusparts.com to purchase |
|||
|
|
321-2
321-2
Contact us at support@powerplusparts.com to purchase |
|||
|
|
3296-42
3296-42
Contact us at support@powerplusparts.com to purchase |
|||
|
|
52-2410
52-2410
Contact us at support@powerplusparts.com to purchase |
|||
|
|
52-2440
52-2440
Contact us at support@powerplusparts.com to purchase |
|||
|
|
52-2450
52-2450
Contact us at support@powerplusparts.com to purchase |
Fuel Tank And Fuel Valve Assembly

Fuel Tank And Fuel Valve Assembly
| Sequence Number | Image | Product | Price | Add to cart |
|---|---|---|---|---|
|
|
100-2808
100-2808
Contact us at support@powerplusparts.com to purchase |
|||
|
|
100-2809
100-2809
Contact us at support@powerplusparts.com to purchase |
|||
|
|
100-2810
100-2810
Contact us at support@powerplusparts.com to purchase |
|||
|
|
100-2811
100-2811
Contact us at support@powerplusparts.com to purchase |
|||
|
|
100-2812
100-2812
Contact us at support@powerplusparts.com to purchase |
|||
|
|
100-2814
100-2814
Contact us at support@powerplusparts.com to purchase |
|||
|
|
100-2813
100-2813
Contact us at support@powerplusparts.com to purchase |
|||
|
|
100-2815
100-2815
Contact us at support@powerplusparts.com to purchase |
|||
|
|
100-2816
100-2816
Contact us at support@powerplusparts.com to purchase |
|||
|
|
100-2817
100-2817
Contact us at support@powerplusparts.com to purchase |
|||
|
|
100-2818
100-2818
Contact us at support@powerplusparts.com to purchase |
|||
|
|
100-2819
100-2819
Contact us at support@powerplusparts.com to purchase |
|||
|
|
100-2820
100-2820
Contact us at support@powerplusparts.com to purchase |
|||
|
|
100-2821
100-2821
Contact us at support@powerplusparts.com to purchase |
|||
|
|
100-2822
100-2822
Contact us at support@powerplusparts.com to purchase |
|||
|
|
100-2823
100-2823
Contact us at support@powerplusparts.com to purchase |
|||
|
|
100-2804
100-2804
Contact us at support@powerplusparts.com to purchase |
|||
|
|
100-2825
100-2825
Contact us at support@powerplusparts.com to purchase |
Gear Case And Rear Wheel Assembly

Gear Case And Rear Wheel Assembly
| Sequence Number | Image | Product | Price | Add to cart |
|---|---|---|---|---|
|
|
Contact us at support@powerplusparts.com to purchase |
|||
|
|
36-8070
36-8070
Contact us at support@powerplusparts.com to purchase |
|||
|
|
32151-36
32151-36
Contact us at support@powerplusparts.com to purchase |
|||
|
|
74-1810
74-1810
Contact us at support@powerplusparts.com to purchase |
|||
|
|
48-2170
48-2170
Contact us at support@powerplusparts.com to purchase |
|||
|
|
32152-2
32152-2
Contact us at support@powerplusparts.com to purchase |
|||
|
|
62-3830
62-3830
Contact us at support@powerplusparts.com to purchase |
|||
|
|
39-9160
39-9160
Contact us at support@powerplusparts.com to purchase |
|||
|
|
74-1640
74-1640
Contact us at support@powerplusparts.com to purchase |
|||
|
|
121-1379
121-1379
Contact us at support@powerplusparts.com to purchase |
|||
|
|
323-13
323-13
Contact us at support@powerplusparts.com to purchase |
|||
|
|
74-1650
74-1650
Contact us at support@powerplusparts.com to purchase |
|||
|
|
39-9650
39-9650
Contact us at support@powerplusparts.com to purchase |
|||
|
|
612066
612066
Contact us at support@powerplusparts.com to purchase |
|||
|
|
65-2720
65-2720
Contact us at support@powerplusparts.com to purchase |
|||
|
|
49-7700
49-7700
Contact us at support@powerplusparts.com to purchase |
|||
|
|
74-1851
74-1851
Contact us at support@powerplusparts.com to purchase |
|||
|
|
47-6730
47-6730
Contact us at support@powerplusparts.com to purchase |
|||
|
|
117-3500
117-3500
Contact us at support@powerplusparts.com to purchase |
|||
|
|
52-2450
52-2450
Contact us at support@powerplusparts.com to purchase |
|||
|
|
92-6316
92-6316
Contact us at support@powerplusparts.com to purchase |
|||
|
|
66-7561
66-7561
Contact us at support@powerplusparts.com to purchase |
|||
|
|
25-7740
25-7740
Contact us at support@powerplusparts.com to purchase |
|||
|
|
74-1960
74-1960
Contact us at support@powerplusparts.com to purchase |
|||
|
|
32121-99
32121-99
Contact us at support@powerplusparts.com to purchase |
Gear Case Assembly No 74 1861

Gear Case Assembly No 74 1861
| Sequence Number | Image | Product | Price | Add to cart |
|---|---|---|---|---|
|
|
119-7863
119-7863
Contact us at support@powerplusparts.com to purchase |
|||
|
|
49-8461-03
49-8461-03
Contact us at support@powerplusparts.com to purchase |
|||
|
|
74-1890
74-1890
Contact us at support@powerplusparts.com to purchase |
|||
|
|
32151-57
32151-57
Contact us at support@powerplusparts.com to purchase |
|||
|
|
47-2910
47-2910
Contact us at support@powerplusparts.com to purchase |
|||
|
|
13-5149
13-5149
Contact us at support@powerplusparts.com to purchase |
|||
|
|
39-6740
39-6740
Contact us at support@powerplusparts.com to purchase |
|||
|
|
13-9739
13-9739
Contact us at support@powerplusparts.com to purchase |
|||
|
|
3296-5
3296-5
Contact us at support@powerplusparts.com to purchase |
|||
|
|
39-6660
39-6660
Contact us at support@powerplusparts.com to purchase |
|||
|
|
29-9330
29-9330
Contact us at support@powerplusparts.com to purchase |
|||
|
|
29-9340
29-9340
Contact us at support@powerplusparts.com to purchase |
|||
|
|
42-4740
42-4740
Contact us at support@powerplusparts.com to purchase |
|||
|
|
29-9271
29-9271
Contact us at support@powerplusparts.com to purchase |
|||
|
|
60-8870
60-8870
Contact us at support@powerplusparts.com to purchase |
|||
|
|
29-9570
29-9570
Contact us at support@powerplusparts.com to purchase |
|||
|
|
47-6730
47-6730
Contact us at support@powerplusparts.com to purchase |
|||
|
|
55-8010
55-8010
Contact us at support@powerplusparts.com to purchase |
|||
|
|
39-6720
39-6720
Contact us at support@powerplusparts.com to purchase |
|||
|
|
55-8020
55-8020
Contact us at support@powerplusparts.com to purchase |
|||
|
|
3285-19
3285-19
Contact us at support@powerplusparts.com to purchase |
|||
|
|
47-7270
47-7270
Contact us at support@powerplusparts.com to purchase |
|||
|
|
49-2040
49-2040
Contact us at support@powerplusparts.com to purchase |
|||
|
|
29-9690
29-9690
Contact us at support@powerplusparts.com to purchase |
|||
|
|
46-3560
46-3560
Contact us at support@powerplusparts.com to purchase |
|||
|
|
3257-1
3257-1
Contact us at support@powerplusparts.com to purchase |
|||
|
|
117-3500
117-3500
Contact us at support@powerplusparts.com to purchase |
|||
|
|
36-4770
36-4770
Contact us at support@powerplusparts.com to purchase |
|||
|
|
252-103
252-103
Contact us at support@powerplusparts.com to purchase |
|||
|
|
36-4792
36-4792
Contact us at support@powerplusparts.com to purchase |
|||
|
|
39-6650
39-6650
Contact us at support@powerplusparts.com to purchase |
|||
|
|
46-3550
46-3550
Contact us at support@powerplusparts.com to purchase |
|||
|
|
46-3540
46-3540
Contact us at support@powerplusparts.com to purchase |
|||
|
|
74-1760
74-1760
Contact us at support@powerplusparts.com to purchase |
|||
|
|
53-7950
53-7950
Contact us at support@powerplusparts.com to purchase |
|||
|
|
36-4780
36-4780
Contact us at support@powerplusparts.com to purchase |
|||
|
|
39-7842
39-7842
Contact us at support@powerplusparts.com to purchase |
|||
|
|
47-7260
47-7260
Contact us at support@powerplusparts.com to purchase |
|||
|
|
302-63
302-63
Contact us at support@powerplusparts.com to purchase |
|||
|
|
74-1750-03
74-1750-03
Contact us at support@powerplusparts.com to purchase |
|||
|
|
3256-45
3256-45
Contact us at support@powerplusparts.com to purchase |
Grass Bag Assembly No 99 2535

Grass Bag Assembly No 99 2535
| Sequence Number | Image | Product | Price | Add to cart |
|---|---|---|---|---|
|
|
121-1391
121-1391
Contact us at support@powerplusparts.com to purchase |
|||
|
|
33-4820
33-4820
Contact us at support@powerplusparts.com to purchase |
|||
|
|
121-1388
121-1388
Contact us at support@powerplusparts.com to purchase |
|||
|
|
3290-422
3290-422
Contact us at support@powerplusparts.com to purchase |
|||
|
|
36-6910
36-6910
Contact us at support@powerplusparts.com to purchase |
|||
|
|
42-4020
42-4020
Contact us at support@powerplusparts.com to purchase |
|||
|
|
106-0926
106-0926
Contact us at support@powerplusparts.com to purchase |
|||
|
|
121-1389
121-1389
Contact us at support@powerplusparts.com to purchase |
Handle Assembly

Handle Assembly
| Sequence Number | Image | Product | Price | Add to cart |
|---|---|---|---|---|
|
|
98-2385-03
98-2385-03
Contact us at support@powerplusparts.com to purchase |
|||
|
|
3290-378
3290-378
Contact us at support@powerplusparts.com to purchase |
|||
|
|
32111-7
32111-7
Contact us at support@powerplusparts.com to purchase |
|||
|
|
3296-29
3296-29
Contact us at support@powerplusparts.com to purchase |
|||
|
|
3290-456
3290-456
Contact us at support@powerplusparts.com to purchase |
|||
|
|
100-3298-03
100-3298-03
Contact us at support@powerplusparts.com to purchase |
|||
|
|
322-7
322-7
Contact us at support@powerplusparts.com to purchase |
|||
|
|
322-6
322-6
Contact us at support@powerplusparts.com to purchase |
|||
|
|
74-1741
74-1741
Contact us at support@powerplusparts.com to purchase |
|||
|
|
46-7030
46-7030
Contact us at support@powerplusparts.com to purchase |
|||
|
|
3-3287
3-3287
Contact us at support@powerplusparts.com to purchase |
|||
|
|
27-7210
27-7210
Contact us at support@powerplusparts.com to purchase |
|||
|
|
48-2810
48-2810
Contact us at support@powerplusparts.com to purchase |
|||
|
|
74-1970
74-1970
Contact us at support@powerplusparts.com to purchase |
|||
|
|
100-3297-03
100-3297-03
Contact us at support@powerplusparts.com to purchase |
|||
|
|
32144-70
32144-70
Contact us at support@powerplusparts.com to purchase |
|||
|
|
3296-47
3296-47
Contact us at support@powerplusparts.com to purchase |
|||
|
|
98-4387
98-4387
Contact us at support@powerplusparts.com to purchase |
|||
|
|
27-7211
27-7211
Contact us at support@powerplusparts.com to purchase |
|||
|
|
3256-23
3256-23
Contact us at support@powerplusparts.com to purchase |
|||
|
|
104-1326
104-1326
Contact us at support@powerplusparts.com to purchase |
|||
|
|
3229-3
3229-3
Contact us at support@powerplusparts.com to purchase |
Housing Assembly

Housing Assembly
| Sequence Number | Image | Product | Price | Add to cart |
|---|---|---|---|---|
|
|
98-7146
98-7146
Contact us at support@powerplusparts.com to purchase |
|||
|
|
3296-6
3296-6
Contact us at support@powerplusparts.com to purchase |
|||
|
|
40-1940
40-1940
Contact us at support@powerplusparts.com to purchase |
|||
|
|
32152-2
32152-2
Contact us at support@powerplusparts.com to purchase |
|||
|
|
66-7560
66-7560
Contact us at support@powerplusparts.com to purchase |
|||
|
|
257-3
257-3
Contact us at support@powerplusparts.com to purchase |
|||
|
|
61-8300
61-8300
Contact us at support@powerplusparts.com to purchase |
|||
|
|
52-2480
52-2480
Contact us at support@powerplusparts.com to purchase |
|||
|
|
114-3468
114-3468
Contact us at support@powerplusparts.com to purchase |
|||
|
|
121-1380
121-1380
Contact us at support@powerplusparts.com to purchase |
|||
|
|
323-12
323-12
Contact us at support@powerplusparts.com to purchase |
|||
|
|
25-7740
25-7740
Contact us at support@powerplusparts.com to purchase |
|||
|
|
49-8760
49-8760
Contact us at support@powerplusparts.com to purchase |
|||
|
|
46-6811
46-6811
Contact us at support@powerplusparts.com to purchase |
|||
|
|
112-9989
112-9989
Contact us at support@powerplusparts.com to purchase |
|||
|
|
33-3208
33-3208
Contact us at support@powerplusparts.com to purchase |
|||
|
|
49-8740
49-8740
Contact us at support@powerplusparts.com to purchase |
|||
|
|
74-1860
74-1860
Contact us at support@powerplusparts.com to purchase |
|||
|
|
99-6298
99-6298
Contact us at support@powerplusparts.com to purchase |
|||
|
|
37-7260
37-7260
Contact us at support@powerplusparts.com to purchase |
|||
|
|
3296-42
3296-42
Contact us at support@powerplusparts.com to purchase |
|||
|
|
49-8750
49-8750
Contact us at support@powerplusparts.com to purchase |
|||
|
|
3256-22
3256-22
Contact us at support@powerplusparts.com to purchase |
|||
|
|
321-7
321-7
Contact us at support@powerplusparts.com to purchase |
|||
|
|
77-0500
77-0500
Contact us at support@powerplusparts.com to purchase |
|||
|
|
3295-35
3295-35
Contact us at support@powerplusparts.com to purchase |
|||
|
|
76-4640
76-4640
Contact us at support@powerplusparts.com to purchase |
|||
|
|
76-4650
76-4650
Contact us at support@powerplusparts.com to purchase |
|||
|
|
46-8090
46-8090
Contact us at support@powerplusparts.com to purchase |
|||
|
|
93-3154
93-3154
Contact us at support@powerplusparts.com to purchase |
|||
|
|
93-7351
93-7351
Contact us at support@powerplusparts.com to purchase |
|||
|
|
80-3770
80-3770
Contact us at support@powerplusparts.com to purchase |
|||
|
|
76-4660
76-4660
Contact us at support@powerplusparts.com to purchase |
|||
|
|
71-9350
71-9350
Contact us at support@powerplusparts.com to purchase |
|||
|
|
119-7894
119-7894
Contact us at support@powerplusparts.com to purchase |
|||
|
|
82-9152
82-9152
Contact us at support@powerplusparts.com to purchase |
|||
|
|
46-6810
46-6810
Contact us at support@powerplusparts.com to purchase |
|||
|
|
49-2040
49-2040
Contact us at support@powerplusparts.com to purchase |
|||
|
|
49-8770
49-8770
Contact us at support@powerplusparts.com to purchase |
|||
|
|
106-0689
106-0689
Contact us at support@powerplusparts.com to purchase |
|||
|
|
323-6
323-6
Contact us at support@powerplusparts.com to purchase |
|||
|
|
84-8930
84-8930
Contact us at support@powerplusparts.com to purchase |
|||
|
|
3296-39
3296-39
Contact us at support@powerplusparts.com to purchase |
|||
|
|
99-6722
99-6722
Contact us at support@powerplusparts.com to purchase |
|||
|
|
32144-86
32144-86
Contact us at support@powerplusparts.com to purchase |
Housing Assembly 98 7146

Housing Assembly 98 7146
| Sequence Number | Image | Product | Price | Add to cart |
|---|---|---|---|---|
|
|
92-1750
92-1750
Contact us at support@powerplusparts.com to purchase |
|||
|
|
92-1720
92-1720
Contact us at support@powerplusparts.com to purchase |
|||
|
|
92-1730
92-1730
Contact us at support@powerplusparts.com to purchase |
|||
|
|
32144-111
32144-111
Contact us at support@powerplusparts.com to purchase |
|||
|
|
43-8480
43-8480
Contact us at support@powerplusparts.com to purchase |
|||
|
|
2410-72
2410-72
Contact us at support@powerplusparts.com to purchase |
|||
|
|
68-9780
68-9780
Contact us at support@powerplusparts.com to purchase |
Panels And Controls Assembly

Panels And Controls Assembly
| Sequence Number | Image | Product | Price | Add to cart |
|---|---|---|---|---|
|
|
84-8940-03
84-8940-03
Contact us at support@powerplusparts.com to purchase |
|||
|
|
85-6750
85-6750
Contact us at support@powerplusparts.com to purchase |
|||
|
|
3250-12
3250-12
Contact us at support@powerplusparts.com to purchase |
|||
|
|
85-6770
85-6770
Contact us at support@powerplusparts.com to purchase |
|||
|
|
84-9120
84-9120
Contact us at support@powerplusparts.com to purchase |
|||
|
|
84-9110
84-9110
Contact us at support@powerplusparts.com to purchase |
|||
|
|
3296-2
3296-2
Contact us at support@powerplusparts.com to purchase |
|||
|
|
71-9310
71-9310
Contact us at support@powerplusparts.com to purchase |
|||
|
|
71-9320
71-9320
Contact us at support@powerplusparts.com to purchase |
|||
|
|
322-19
322-19
Contact us at support@powerplusparts.com to purchase |
|||
|
|
46-6430
46-6430
Contact us at support@powerplusparts.com to purchase |
|||
|
|
3290-378
3290-378
Contact us at support@powerplusparts.com to purchase |
|||
|
|
100-2839
100-2839
Contact us at support@powerplusparts.com to purchase |
|||
|
|
3296-29
3296-29
Contact us at support@powerplusparts.com to purchase |
|||
|
|
92-1778-03
92-1778-03
Contact us at support@powerplusparts.com to purchase |
|||
|
|
3296-42
3296-42
Contact us at support@powerplusparts.com to purchase |
|||
|
|
14-7709
14-7709
Contact us at support@powerplusparts.com to purchase |
|||
|
|
63-9060
63-9060
Contact us at support@powerplusparts.com to purchase |
|||
|
|
106-0771
106-0771
Contact us at support@powerplusparts.com to purchase |
|||
|
|
85-6730
85-6730
Contact us at support@powerplusparts.com to purchase |
|||
|
|
49-1631
49-1631
Contact us at support@powerplusparts.com to purchase |
|||
|
|
17-9427
17-9427
Contact us at support@powerplusparts.com to purchase |
|||
|
|
86-9320
86-9320
Contact us at support@powerplusparts.com to purchase |
|||
|
|
84-9000
84-9000
Contact us at support@powerplusparts.com to purchase |
|||
|
|
3272-1
3272-1
Contact us at support@powerplusparts.com to purchase |
|||
|
|
3296-58
3296-58
Contact us at support@powerplusparts.com to purchase |
|||
|
|
84-8990
84-8990
Contact us at support@powerplusparts.com to purchase |
|||
|
|
84-9040
84-9040
Contact us at support@powerplusparts.com to purchase |
|||
|
|
84-9030
84-9030
Contact us at support@powerplusparts.com to purchase |
|||
|
|
85-6780
85-6780
Contact us at support@powerplusparts.com to purchase |
|||
|
|
32104-76
32104-76
Contact us at support@powerplusparts.com to purchase |
Piston And Crankshaft Assembly

Piston And Crankshaft Assembly
| Sequence Number | Image | Product | Price | Add to cart |
|---|---|---|---|---|
|
|
100-2672
100-2672
Contact us at support@powerplusparts.com to purchase |
|||
|
|
100-2673
100-2673
Contact us at support@powerplusparts.com to purchase |
|||
|
|
100-2674
100-2674
Contact us at support@powerplusparts.com to purchase |
|||
|
|
100-2675
100-2675
Contact us at support@powerplusparts.com to purchase |
|||
|
|
100-2676
100-2676
Contact us at support@powerplusparts.com to purchase |
|||
|
|
100-2677
100-2677
Contact us at support@powerplusparts.com to purchase |
|||
|
|
100-2678
100-2678
Contact us at support@powerplusparts.com to purchase |
|||
|
|
100-2828
100-2828
Contact us at support@powerplusparts.com to purchase |
|||
|
|
100-2680
100-2680
Contact us at support@powerplusparts.com to purchase |
|||
|
|
100-2681
100-2681
Contact us at support@powerplusparts.com to purchase |
|||
|
|
100-2682
100-2682
Contact us at support@powerplusparts.com to purchase |
|||
|
|
100-2683
100-2683
Contact us at support@powerplusparts.com to purchase |
|||
|
|
93-8526
93-8526
Contact us at support@powerplusparts.com to purchase |
|||
|
|
115-1805
115-1805
Contact us at support@powerplusparts.com to purchase |
Rear Wheel And Tire Assembly No 74 1720

Rear Wheel And Tire Assembly No 74 1720
| Sequence Number | Image | Product | Price | Add to cart |
|---|---|---|---|---|
|
|
Contact us at support@powerplusparts.com to purchase |
|||
|
|
53-7740
53-7740
Contact us at support@powerplusparts.com to purchase |
|||
|
|
121-1365-06
121-1365-06
Contact us at support@powerplusparts.com to purchase |
|||
|
|
321-2
321-2
Contact us at support@powerplusparts.com to purchase |
|||
|
|
3296-42
3296-42
Contact us at support@powerplusparts.com to purchase |
|||
|
|
121-1378-06
121-1378-06
Contact us at support@powerplusparts.com to purchase |
|||
|
|
52-2410
52-2410
Contact us at support@powerplusparts.com to purchase |
|||
|
|
52-2440
52-2440
Contact us at support@powerplusparts.com to purchase |
|||
|
|
52-2450
52-2450
Contact us at support@powerplusparts.com to purchase |
Recoil Starter Assembly

Recoil Starter Assembly
| Sequence Number | Image | Product | Price | Add to cart |
|---|---|---|---|---|
|
|
94-9044
94-9044
Contact us at support@powerplusparts.com to purchase |
|||
|
|
100-2766
100-2766
Contact us at support@powerplusparts.com to purchase |
|||
|
|
100-2767
100-2767
Contact us at support@powerplusparts.com to purchase |
|||
|
|
100-2768
100-2768
Contact us at support@powerplusparts.com to purchase |
|||
|
|
100-2769
100-2769
Contact us at support@powerplusparts.com to purchase |
|||
|
|
100-2770
100-2770
Contact us at support@powerplusparts.com to purchase |
|||
|
|
100-2837
100-2837
Contact us at support@powerplusparts.com to purchase |
|||
|
|
100-2772
100-2772
Contact us at support@powerplusparts.com to purchase |
|||
|
|
100-2773
100-2773
Contact us at support@powerplusparts.com to purchase |
|||
|
|
100-2774
100-2774
Contact us at support@powerplusparts.com to purchase |
|||
|
|
100-2775
100-2775
Contact us at support@powerplusparts.com to purchase |
|||
|
|
100-2776
100-2776
Contact us at support@powerplusparts.com to purchase |
|||
|
|
100-2777
100-2777
Contact us at support@powerplusparts.com to purchase |
|||
|
|
93-8555
93-8555
Contact us at support@powerplusparts.com to purchase |
Valve And Camshaft Assembly

Valve And Camshaft Assembly
| Sequence Number | Image | Product | Price | Add to cart |
|---|---|---|---|---|
|
|
100-2727
100-2727
Contact us at support@powerplusparts.com to purchase |
|||
|
|
100-2728
100-2728
Contact us at support@powerplusparts.com to purchase |
|||
|
|
100-2729
100-2729
Contact us at support@powerplusparts.com to purchase |
|||
|
|
100-2730
100-2730
Contact us at support@powerplusparts.com to purchase |
|||
|
|
100-2731
100-2731
Contact us at support@powerplusparts.com to purchase |
|||
|
|
100-2732
100-2732
Contact us at support@powerplusparts.com to purchase |
|||
|
|
100-2733
100-2733
Contact us at support@powerplusparts.com to purchase |
|||
|
|
100-2734
100-2734
Contact us at support@powerplusparts.com to purchase |
|||
|
|
100-2735
100-2735
Contact us at support@powerplusparts.com to purchase |
|||
|
|
100-2736
100-2736
Contact us at support@powerplusparts.com to purchase |
|||
|
|
93-8533
93-8533
Contact us at support@powerplusparts.com to purchase |
|||
|
|
93-8534
93-8534
Contact us at support@powerplusparts.com to purchase |
|||
|
|
100-2739
100-2739
Contact us at support@powerplusparts.com to purchase |
|||
|
|
100-2740
100-2740
Contact us at support@powerplusparts.com to purchase |
|||
|
|
100-2741
100-2741
Contact us at support@powerplusparts.com to purchase |
SUBSCRIBE AND GET EXCLUSIVE DEALS!
Subscribe to our newsletter TODAY and GET $10 OFF your next order of $100 or more. Our newsletter contains special offers, discounts and updates on new EGO products
