Toro 22323G TX 525 Compact Utility Loader (Serial #: 315000001 - 315999999) Parts Diagram
Diagrams:
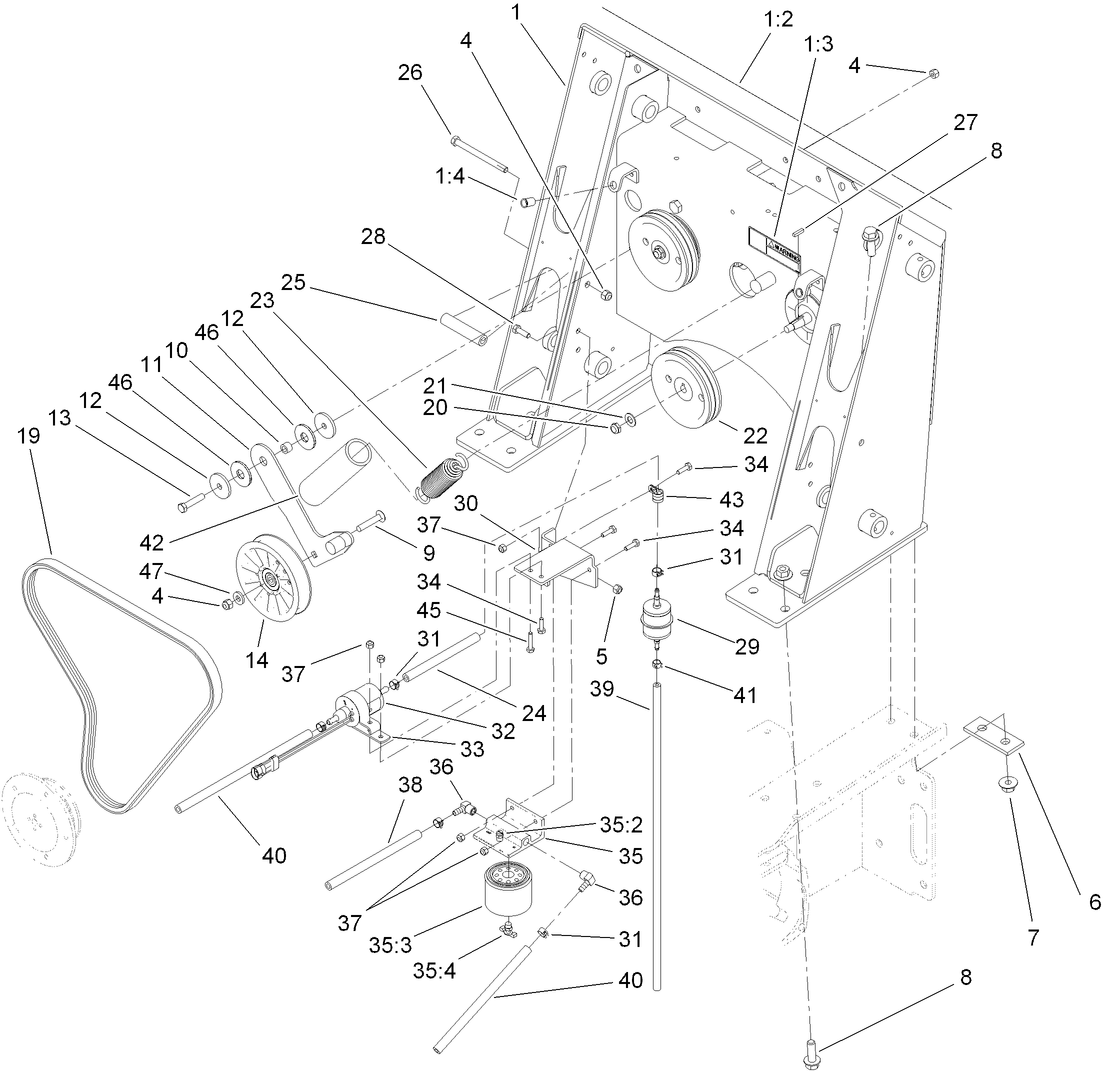
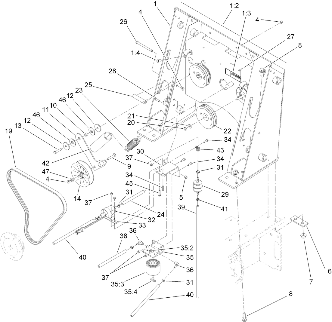
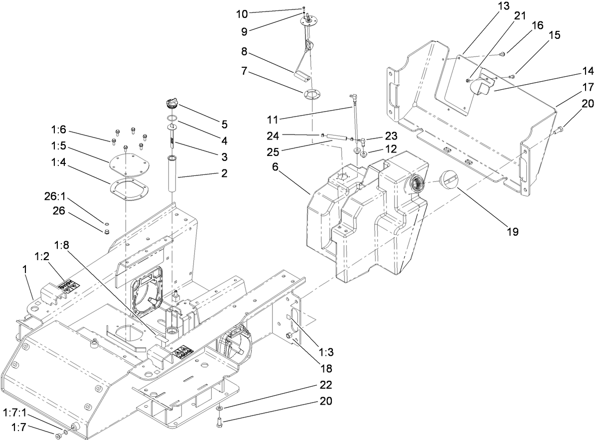
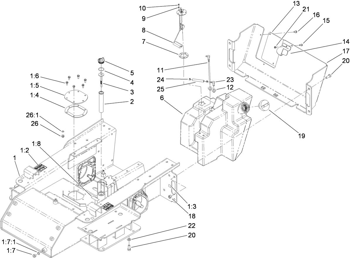
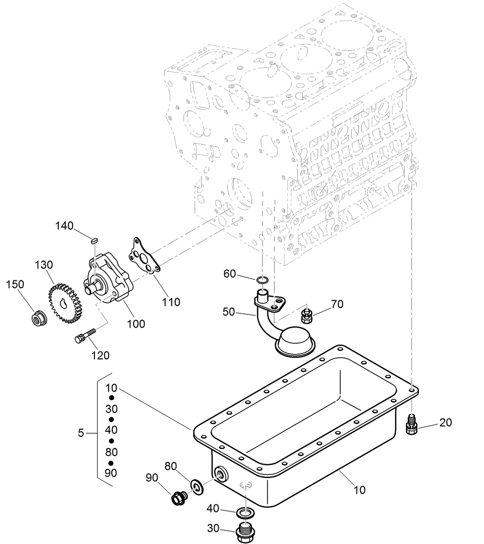
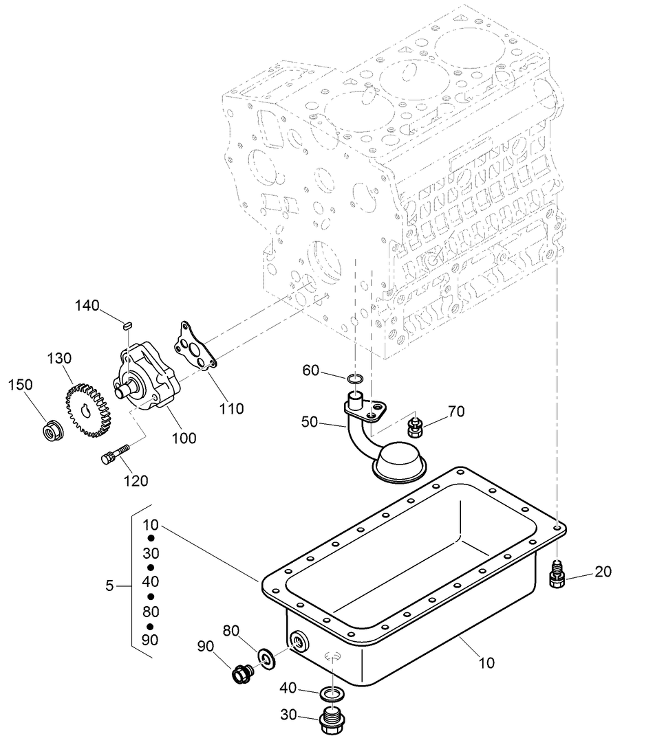
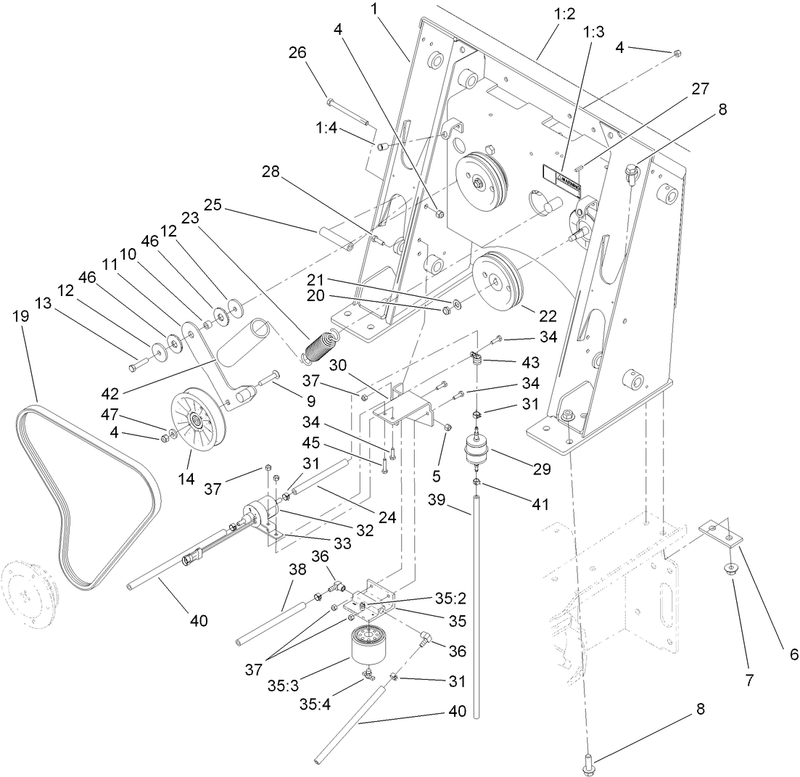
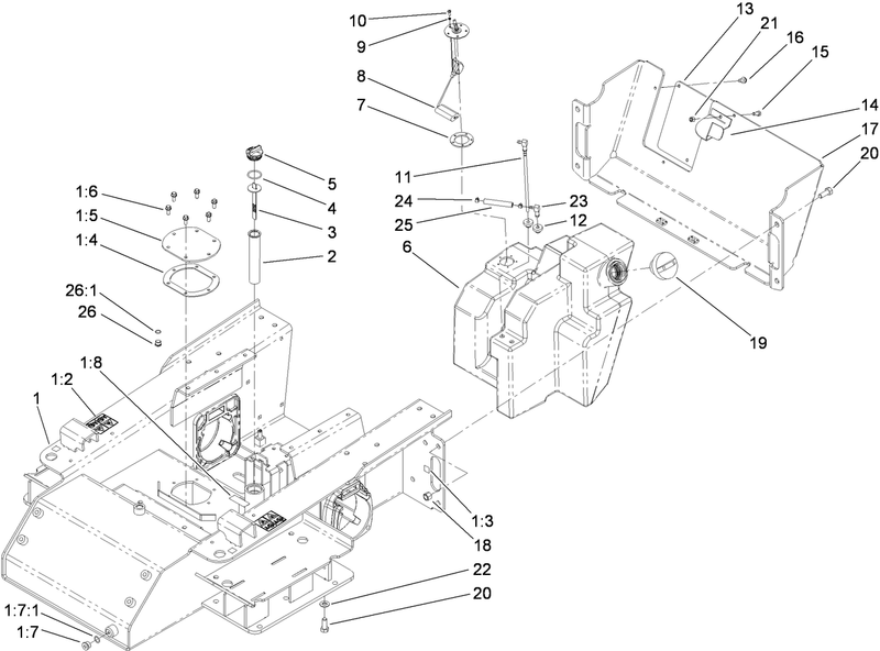
Diagram:
SUBSCRIBE AND GET EXCLUSIVE DEALS!
Subscribe to our newsletter TODAY and GET $10 OFF your next order of $100 or more. Our newsletter contains special offers, discounts and updates on new EGO products





















































