Toro 22327G TX 1000 Compact Utility Loader (Serial #: 402800000 - 404356213) Parts Diagram
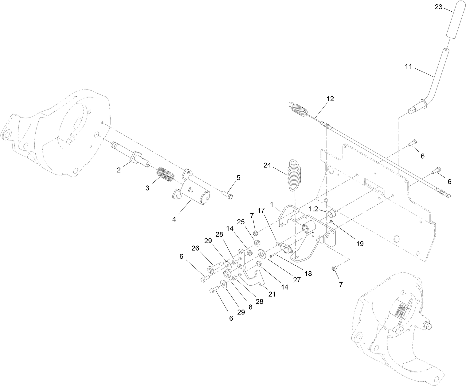
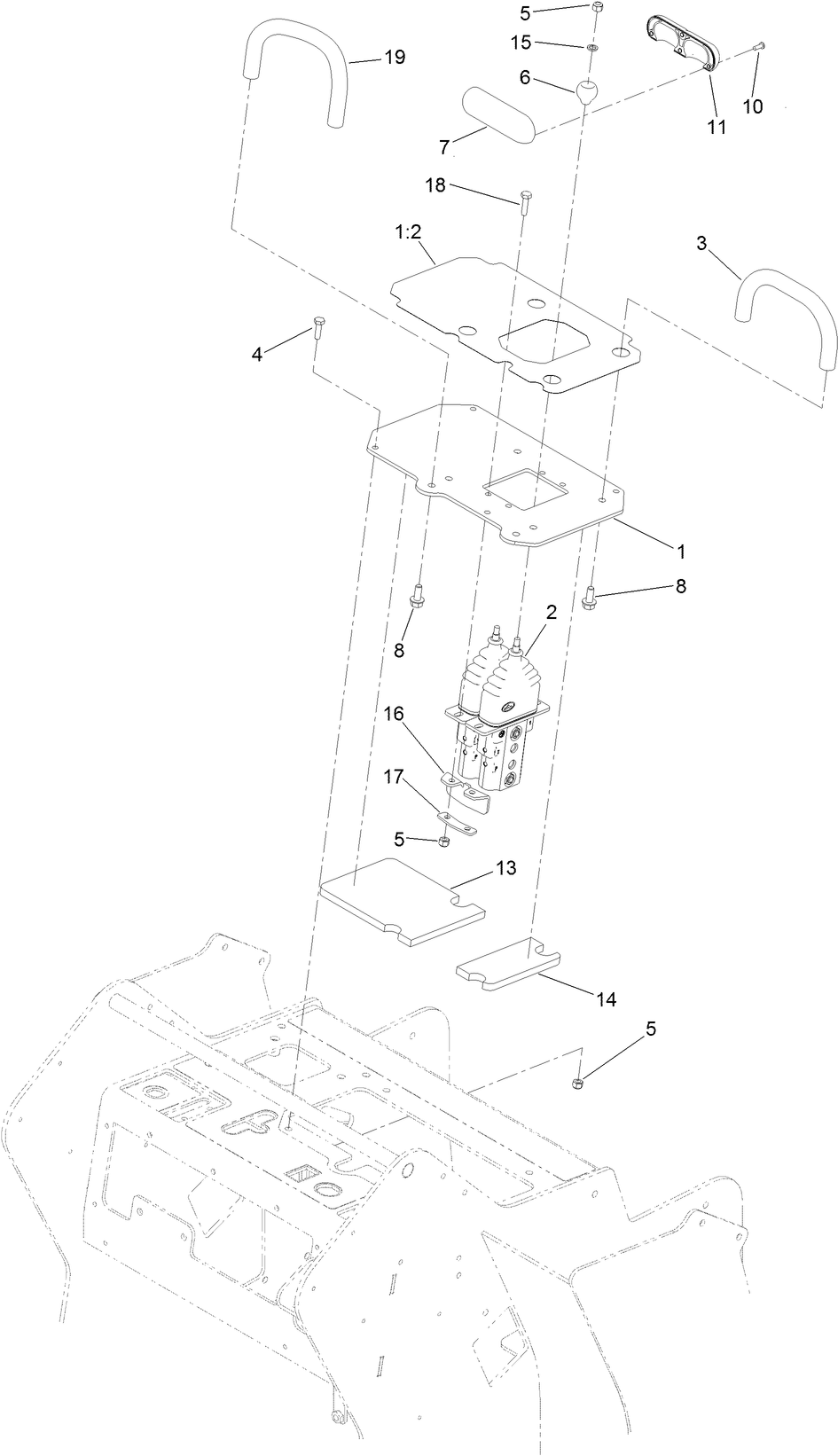
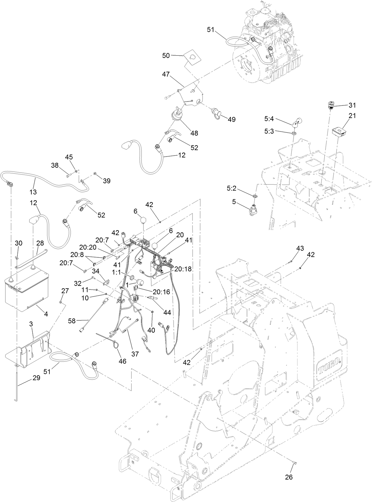
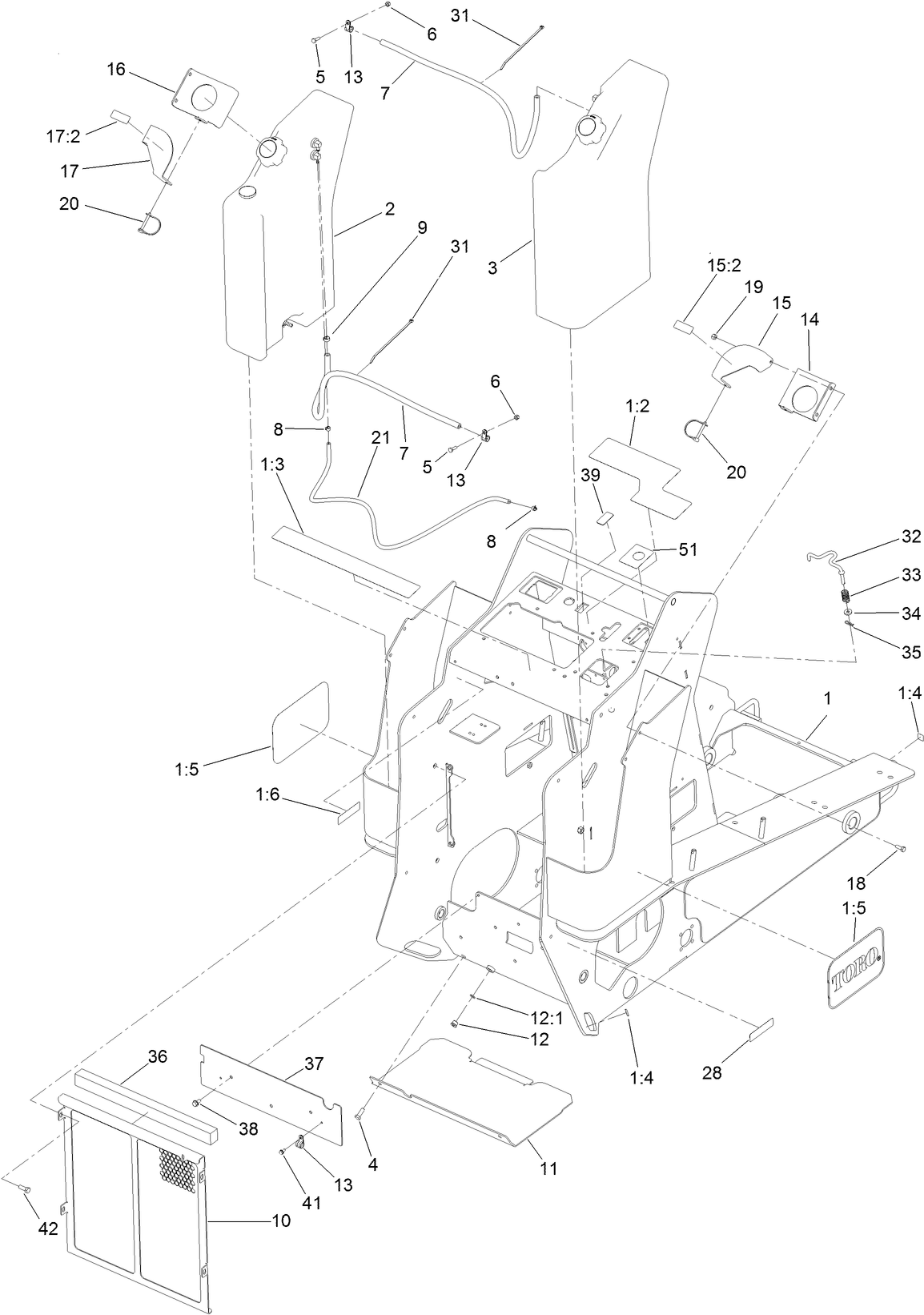
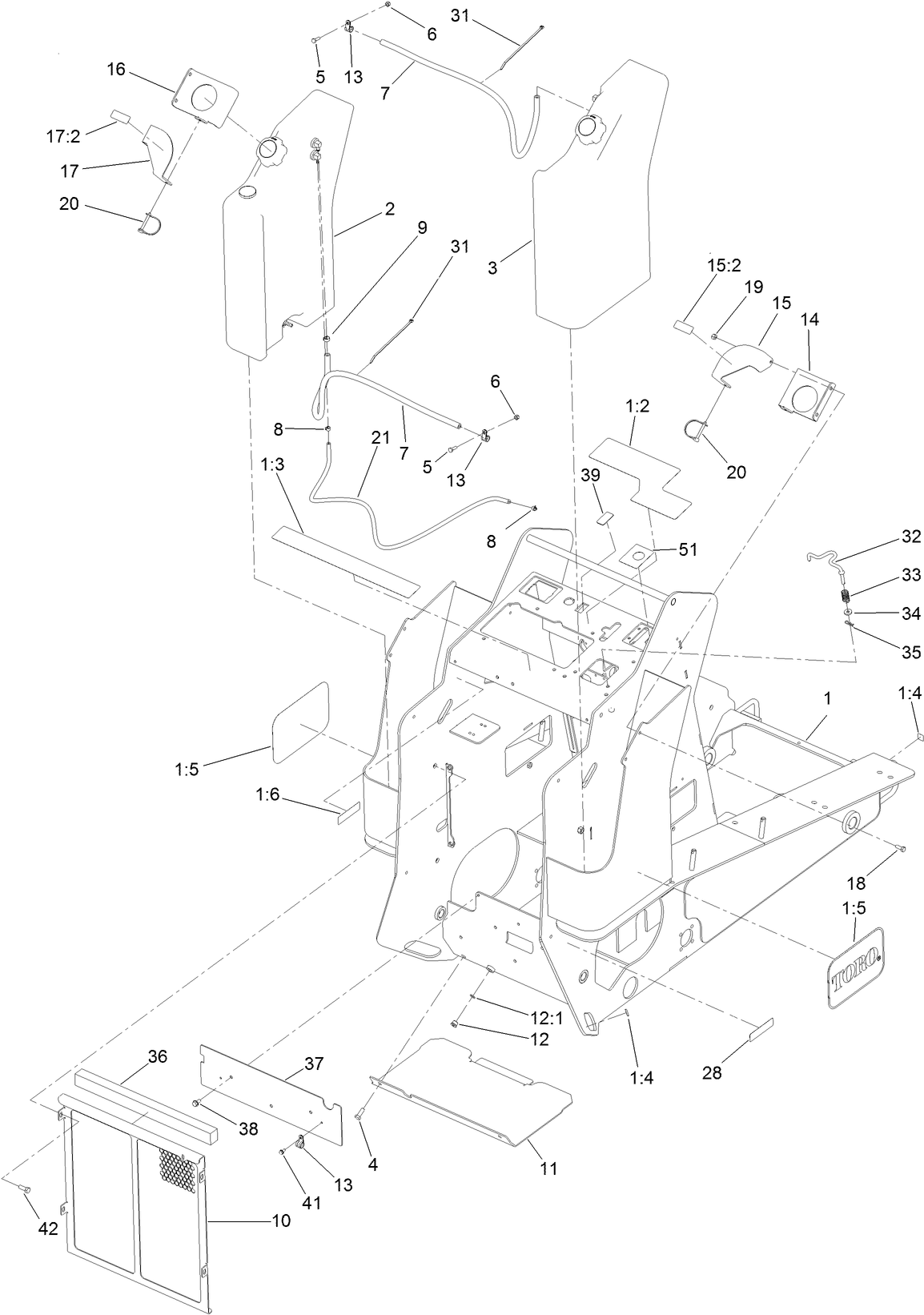
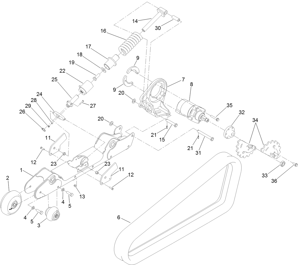
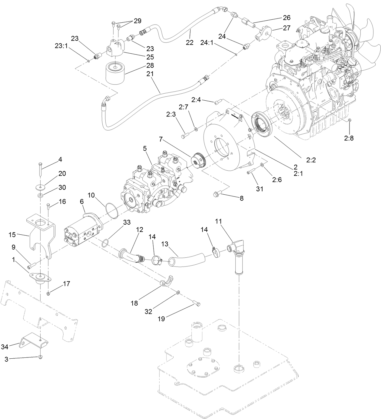
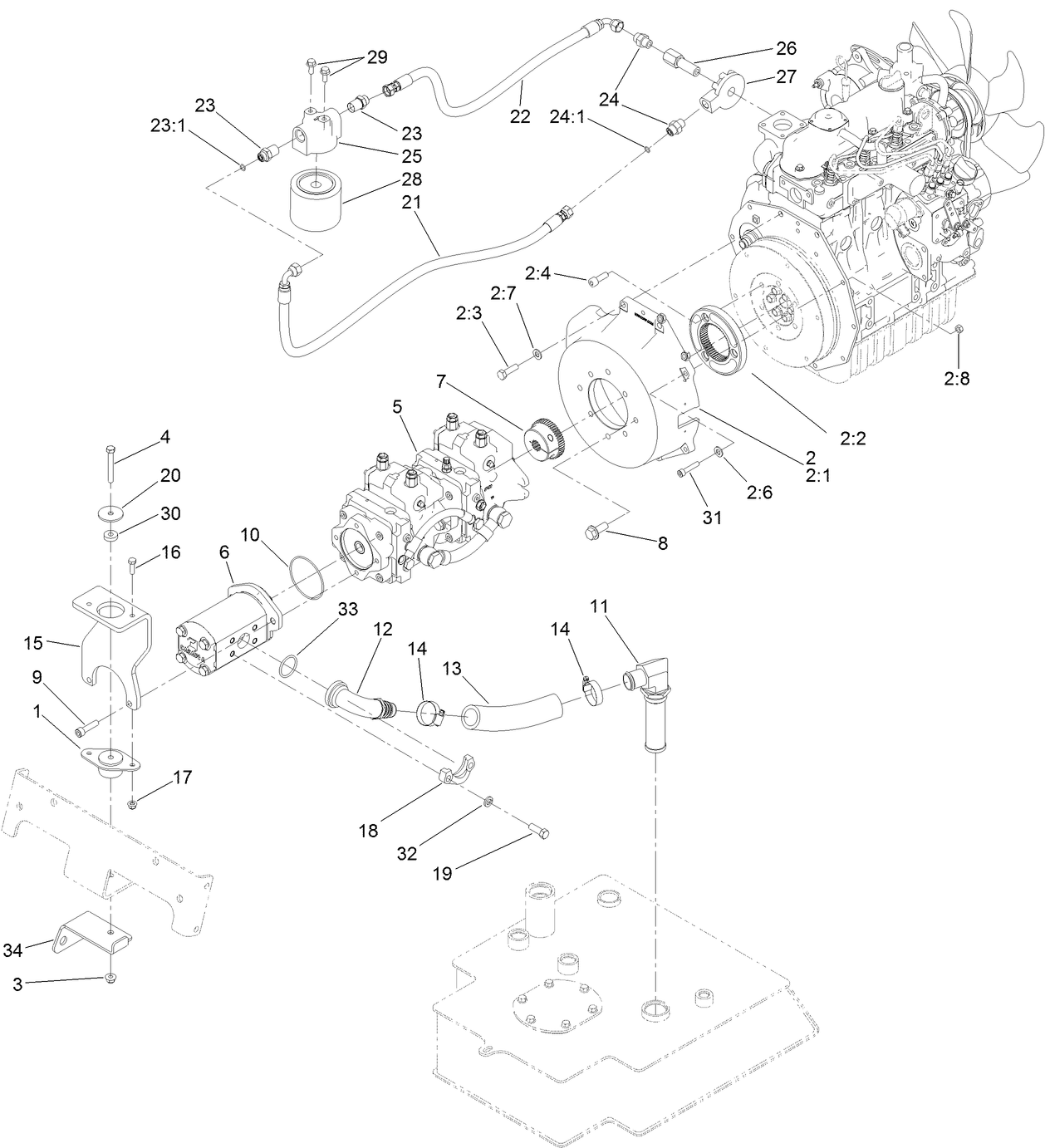
Diagrams:
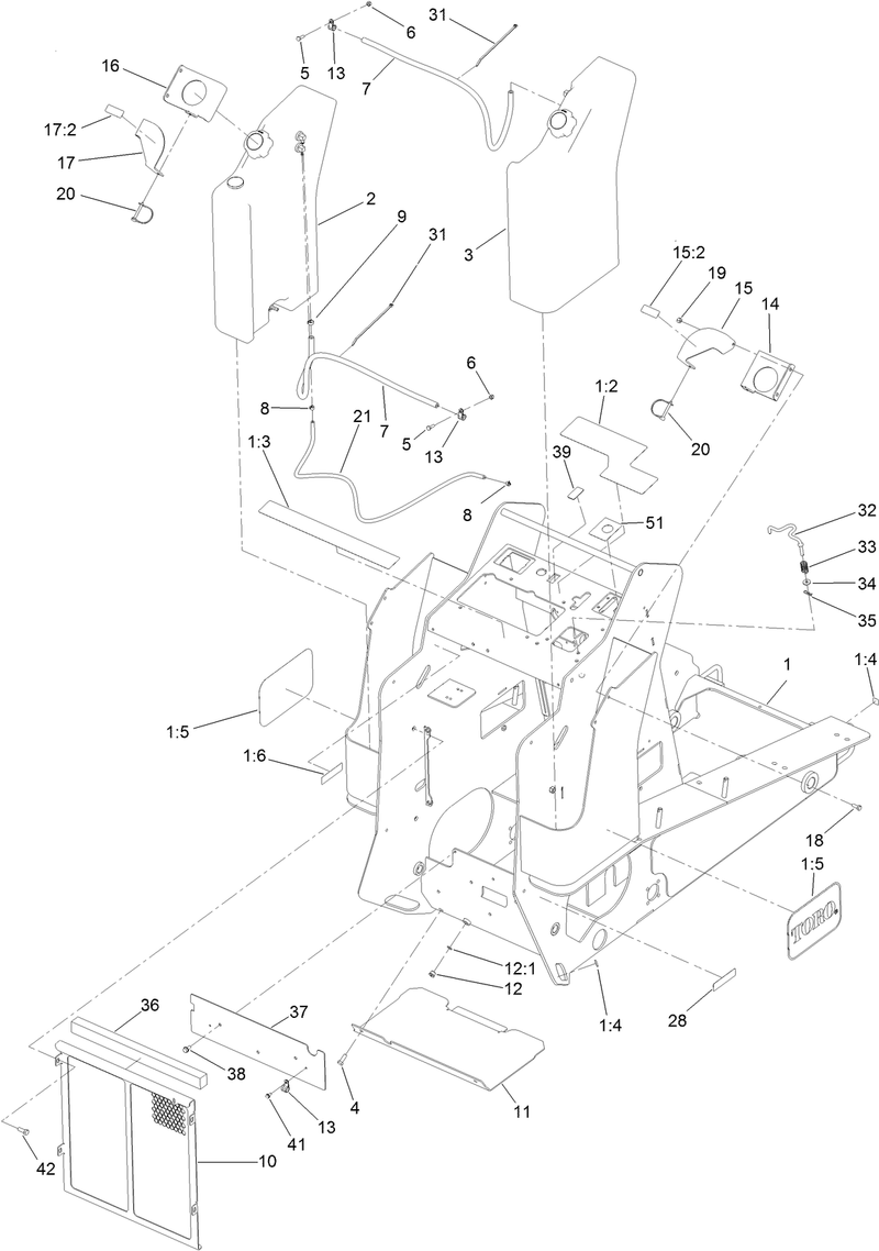
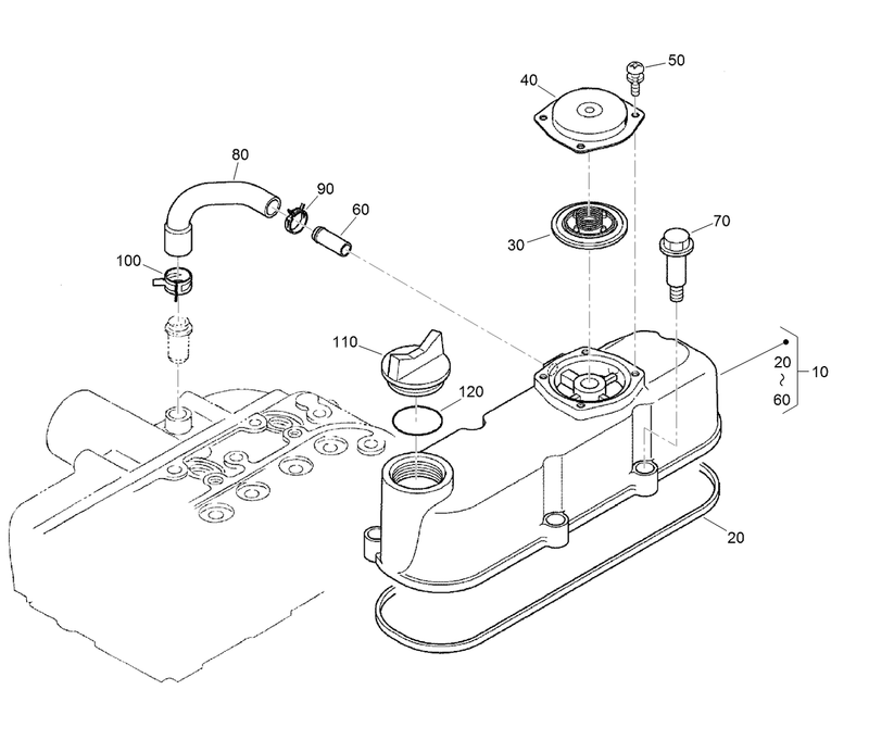
Diagram:
SUBSCRIBE AND GET EXCLUSIVE DEALS!
Subscribe to our newsletter TODAY and GET $10 OFF your next order of $100 or more. Our newsletter contains special offers, discounts and updates on new EGO products
































































