Toro 22588HD TX 1000 Turbo Wide Track Compact Utility Loader (Serial #: 417200000 - 418299999) Parts Diagram
Diagrams:
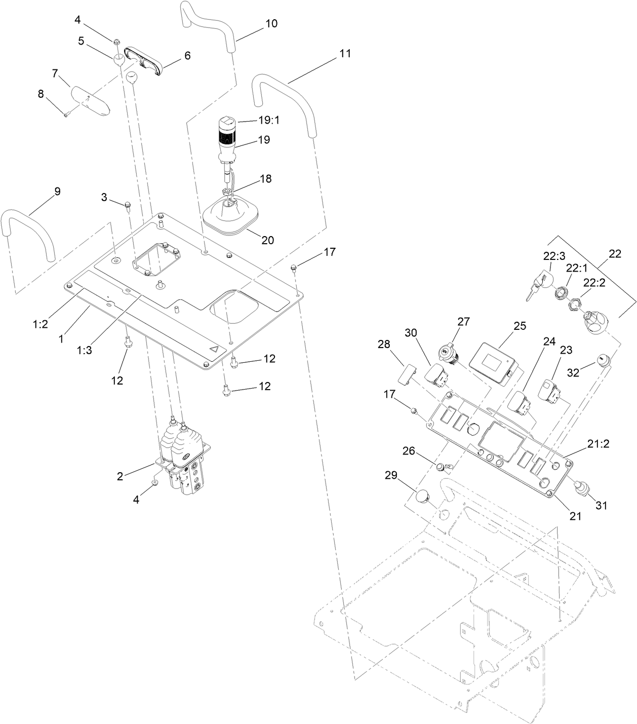
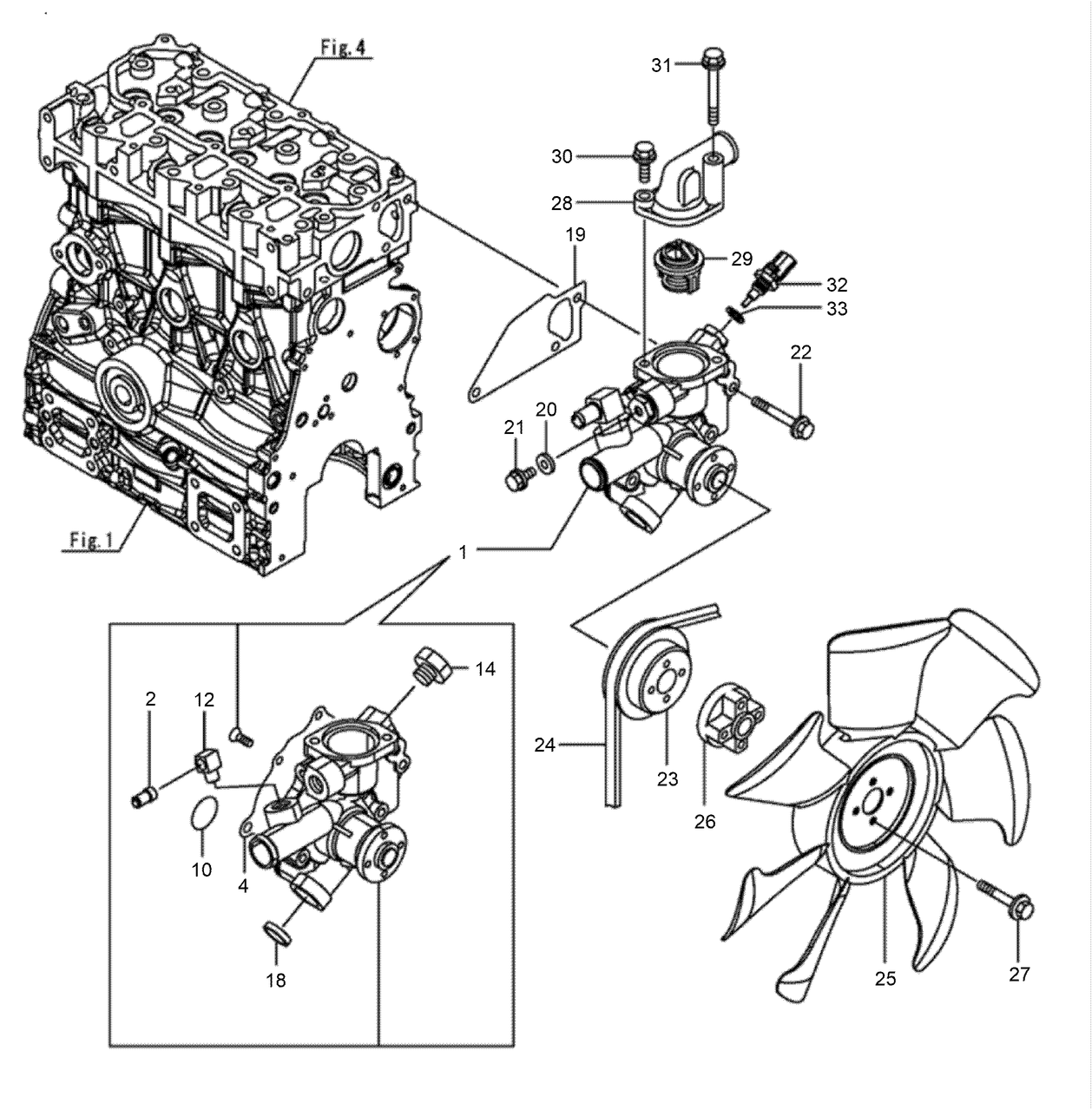
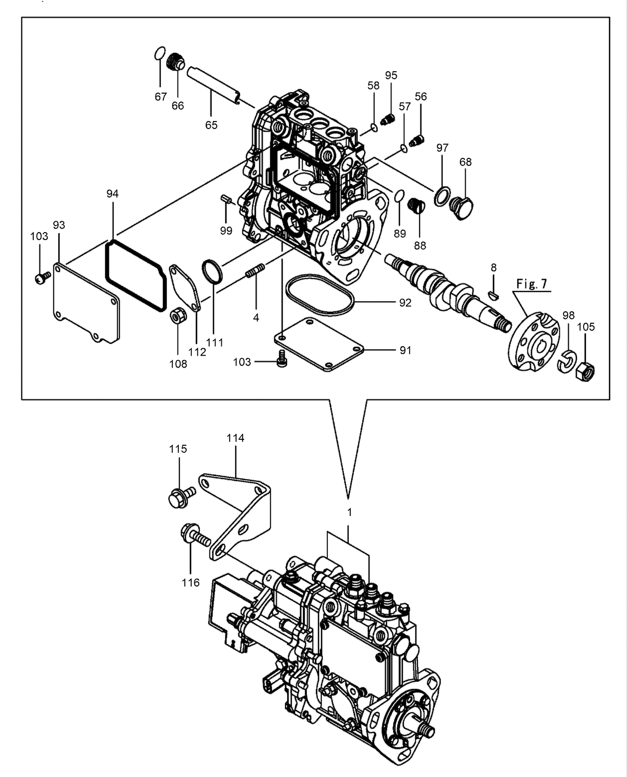
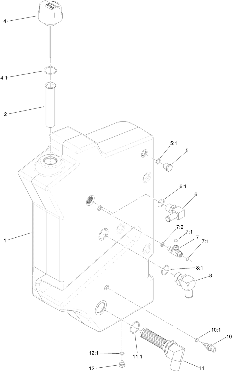
Diagram:
SUBSCRIBE AND GET EXCLUSIVE DEALS!
Subscribe to our newsletter TODAY and GET $10 OFF your next order of $100 or more. Our newsletter contains special offers, discounts and updates on new EGO products













































