Toro 12004TC Twister 1600 Utility Vehicle Vehicle (Serial #: 260000001 - 260999999) Parts Diagram
Diagrams:
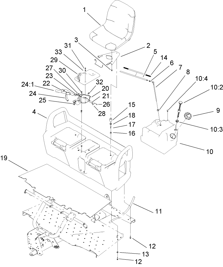
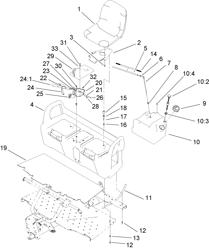
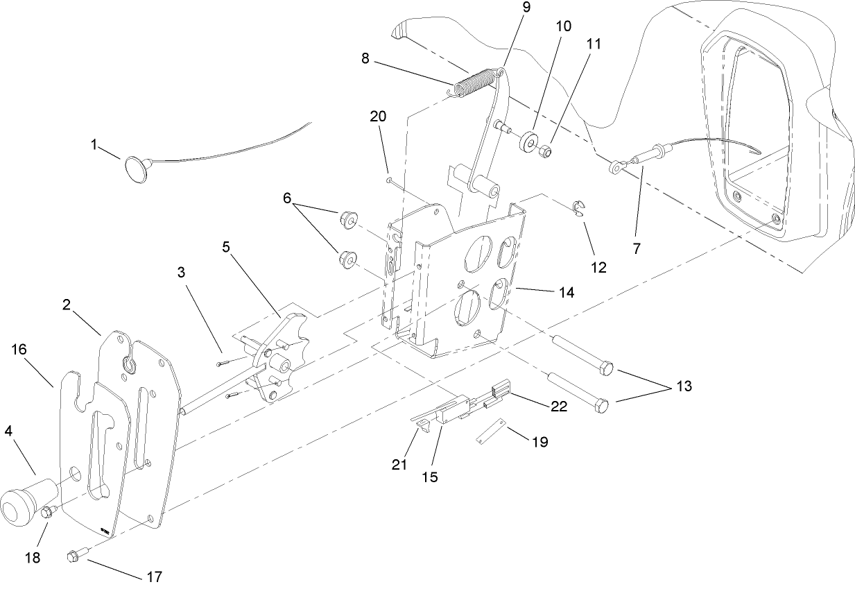
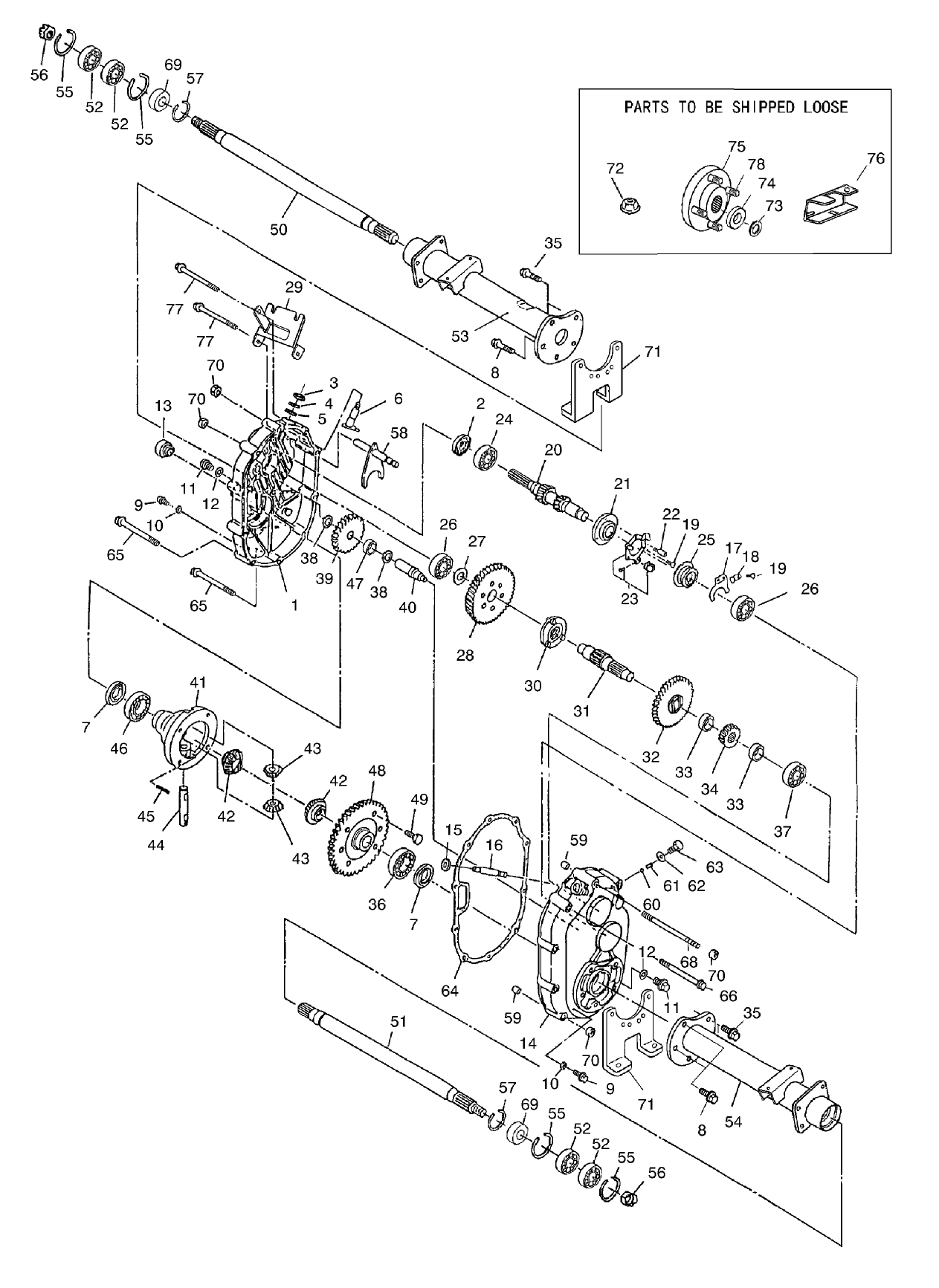
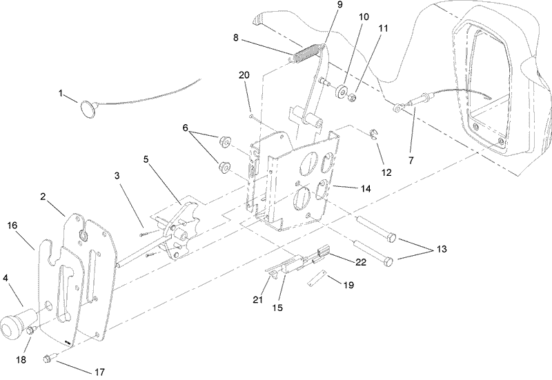
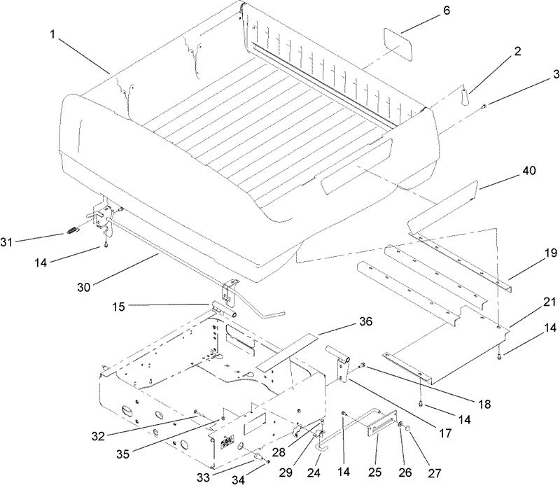
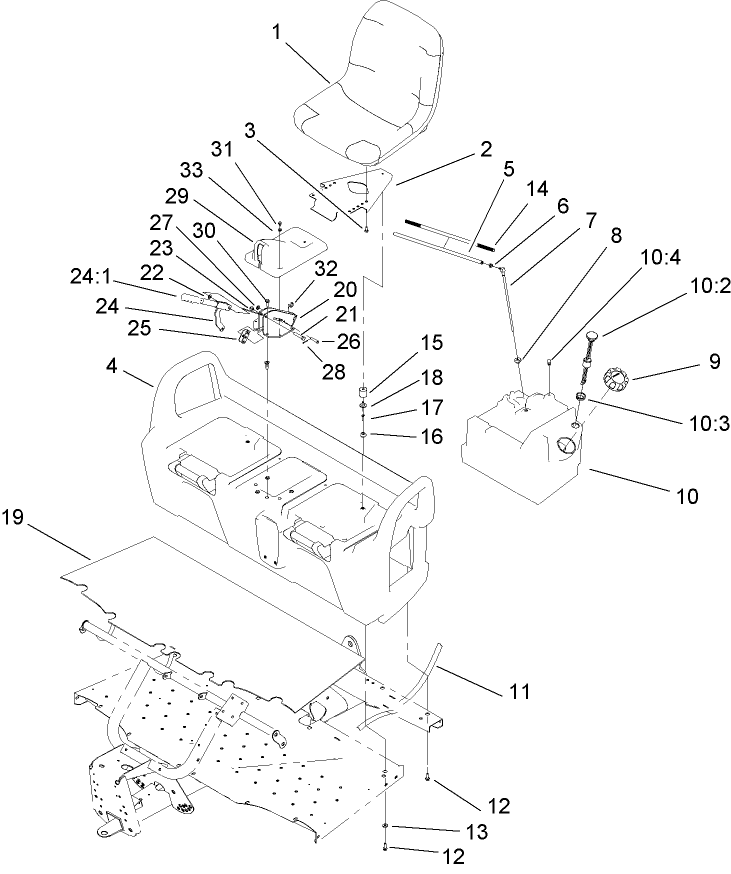
Diagram:
SUBSCRIBE AND GET EXCLUSIVE DEALS!
Subscribe to our newsletter TODAY and GET $10 OFF your next order of $100 or more. Our newsletter contains special offers, discounts and updates on new EGO products



































