Toro 22150 Proline 21 in. Recycler Mower (Serial #: 5900001 - 5999999) Parts Diagram
Diagrams:
Diagram:
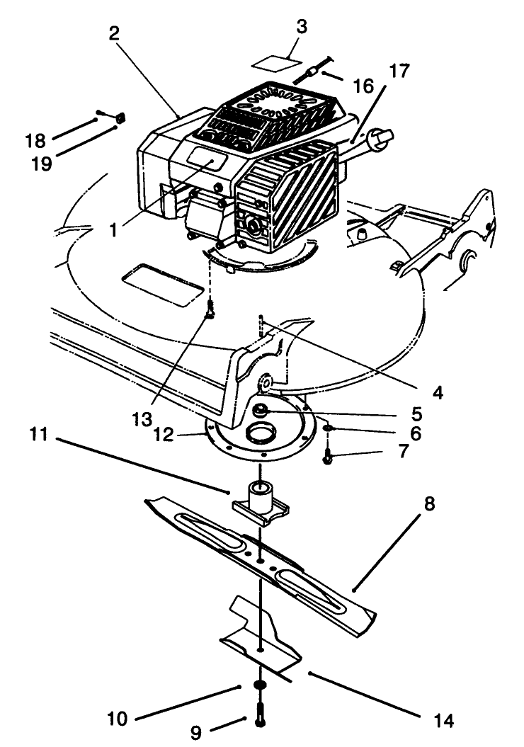
Engine Assembly

Engine Assembly
| Sequence Number | Image | Product | Price | Add to cart |
|---|---|---|---|---|
|
|
Contact us at support@powerplusparts.com to purchase |
|||
|
|
84-4960
84-4960
Contact us at support@powerplusparts.com to purchase |
|||
|
|
77-8971
77-8971
Contact us at support@powerplusparts.com to purchase |
|||
|
|
71-9270
71-9270
Contact us at support@powerplusparts.com to purchase |
|||
|
|
27-8590
27-8590
Contact us at support@powerplusparts.com to purchase |
|||
|
|
52-2190
52-2190
Contact us at support@powerplusparts.com to purchase |
|||
|
|
3254-6
3254-6
Contact us at support@powerplusparts.com to purchase |
|||
|
|
32144-70
32144-70
Contact us at support@powerplusparts.com to purchase |
|||
|
|
91-2256-03
91-2256-03
Contact us at support@powerplusparts.com to purchase |
|||
|
|
26-0670
26-0670
Contact us at support@powerplusparts.com to purchase |
|||
|
|
3253-22
3253-22
Contact us at support@powerplusparts.com to purchase |
|||
|
|
52-2170-03
52-2170-03
Contact us at support@powerplusparts.com to purchase |
|||
|
|
125-8370
125-8370
Contact us at support@powerplusparts.com to purchase |
|||
|
|
32144-102
32144-102
Contact us at support@powerplusparts.com to purchase |
|||
|
|
92-1599-03
92-1599-03
Contact us at support@powerplusparts.com to purchase |
|||
|
|
2210-316
2210-316
Contact us at support@powerplusparts.com to purchase |
|||
|
|
77-9550
77-9550
Contact us at support@powerplusparts.com to purchase |
|||
|
|
86-7990
86-7990
Contact us at support@powerplusparts.com to purchase |
|||
|
|
2210-249
2210-249
Contact us at support@powerplusparts.com to purchase |
Engine Gts 150

Engine Gts 150
| Sequence Number | Image | Product | Price | Add to cart |
|---|---|---|---|---|
|
|
Contact us at support@powerplusparts.com to purchase |
|||
|
|
77-9590
77-9590
Contact us at support@powerplusparts.com to purchase |
|||
|
|
77-7520
77-7520
Contact us at support@powerplusparts.com to purchase |
|||
|
|
77-7560
77-7560
Contact us at support@powerplusparts.com to purchase |
|||
|
|
Contact us at support@powerplusparts.com to purchase |
|||
|
|
77-9070
77-9070
Contact us at support@powerplusparts.com to purchase |
|||
|
|
77-7690
77-7690
Contact us at support@powerplusparts.com to purchase |
|||
|
|
77-7700
77-7700
Contact us at support@powerplusparts.com to purchase |
|||
|
|
77-7710
77-7710
Contact us at support@powerplusparts.com to purchase |
|||
|
|
77-9340
77-9340
Contact us at support@powerplusparts.com to purchase |
|||
|
|
77-7670
77-7670
Contact us at support@powerplusparts.com to purchase |
|||
|
|
77-9350
77-9350
Contact us at support@powerplusparts.com to purchase |
|||
|
|
77-7490
77-7490
Contact us at support@powerplusparts.com to purchase |
|||
|
|
Contact us at support@powerplusparts.com to purchase |
|||
|
|
77-9360
77-9360
Contact us at support@powerplusparts.com to purchase |
|||
|
|
77-7500
77-7500
Contact us at support@powerplusparts.com to purchase |
|||
|
|
77-7370
77-7370
Contact us at support@powerplusparts.com to purchase |
|||
|
|
77-7470
77-7470
Contact us at support@powerplusparts.com to purchase |
|||
|
|
77-8310
77-8310
Contact us at support@powerplusparts.com to purchase |
|||
|
|
77-7260
77-7260
Contact us at support@powerplusparts.com to purchase |
|||
|
|
Contact us at support@powerplusparts.com to purchase |
|||
|
|
77-7280
77-7280
Contact us at support@powerplusparts.com to purchase |
|||
|
|
77-7380
77-7380
Contact us at support@powerplusparts.com to purchase |
|||
|
|
77-7390
77-7390
Contact us at support@powerplusparts.com to purchase |
|||
|
|
77-7480
77-7480
Contact us at support@powerplusparts.com to purchase |
|||
|
|
77-7460
77-7460
Contact us at support@powerplusparts.com to purchase |
|||
|
|
77-7530
77-7530
Contact us at support@powerplusparts.com to purchase |
|||
|
|
77-9570
77-9570
Contact us at support@powerplusparts.com to purchase |
|||
|
|
Contact us at support@powerplusparts.com to purchase |
|||
|
|
77-7650
77-7650
Contact us at support@powerplusparts.com to purchase |
|||
|
|
77-7640
77-7640
Contact us at support@powerplusparts.com to purchase |
Engine Gts 150

Engine Gts 150
| Sequence Number | Image | Product | Price | Add to cart |
|---|---|---|---|---|
|
|
77-7590
77-7590
Contact us at support@powerplusparts.com to purchase |
|||
|
|
Contact us at support@powerplusparts.com to purchase |
|||
|
|
77-7730
77-7730
Contact us at support@powerplusparts.com to purchase |
|||
|
|
Contact us at support@powerplusparts.com to purchase |
|||
|
|
77-9260
77-9260
Contact us at support@powerplusparts.com to purchase |
|||
|
|
99-0913
99-0913
Contact us at support@powerplusparts.com to purchase |
|||
|
|
99-0923
99-0923
Contact us at support@powerplusparts.com to purchase |
|||
|
|
77-7360
77-7360
Contact us at support@powerplusparts.com to purchase |
|||
|
|
77-9200
77-9200
Contact us at support@powerplusparts.com to purchase |
|||
|
|
77-9410
77-9410
Contact us at support@powerplusparts.com to purchase |
|||
|
|
77-7630
77-7630
Contact us at support@powerplusparts.com to purchase |
|||
|
|
77-7860
77-7860
Contact us at support@powerplusparts.com to purchase |
|||
|
|
77-7880
77-7880
Contact us at support@powerplusparts.com to purchase |
|||
|
|
77-7810
77-7810
Contact us at support@powerplusparts.com to purchase |
|||
|
|
77-7870
77-7870
Contact us at support@powerplusparts.com to purchase |
|||
|
|
77-7610
77-7610
Contact us at support@powerplusparts.com to purchase |
|||
|
|
Contact us at support@powerplusparts.com to purchase |
|||
|
|
77-7780
77-7780
Contact us at support@powerplusparts.com to purchase |
|||
|
|
77-7910
77-7910
Contact us at support@powerplusparts.com to purchase |
|||
|
|
Contact us at support@powerplusparts.com to purchase |
|||
|
|
77-7800
77-7800
Contact us at support@powerplusparts.com to purchase |
|||
|
|
77-7420
77-7420
Contact us at support@powerplusparts.com to purchase |
|||
|
|
77-7330
77-7330
Contact us at support@powerplusparts.com to purchase |
|||
|
|
77-7400
77-7400
Contact us at support@powerplusparts.com to purchase |
|||
|
|
77-7340
77-7340
Contact us at support@powerplusparts.com to purchase |
|||
|
|
77-7600
77-7600
Contact us at support@powerplusparts.com to purchase |
|||
|
|
94-1669
94-1669
Contact us at support@powerplusparts.com to purchase |
|||
|
|
Contact us at support@powerplusparts.com to purchase |
|||
|
|
Contact us at support@powerplusparts.com to purchase |
|||
|
|
Contact us at support@powerplusparts.com to purchase |
|||
|
|
77-9320
77-9320
Contact us at support@powerplusparts.com to purchase |
|||
|
|
77-7620
77-7620
Contact us at support@powerplusparts.com to purchase |
|||
|
|
77-7790
77-7790
Contact us at support@powerplusparts.com to purchase |
|||
|
|
77-7770
77-7770
Contact us at support@powerplusparts.com to purchase |
|||
|
|
77-8020
77-8020
Contact us at support@powerplusparts.com to purchase |
Engine Gts 150

Engine Gts 150
| Sequence Number | Image | Product | Price | Add to cart |
|---|---|---|---|---|
|
|
Contact us at support@powerplusparts.com to purchase |
|||
|
|
77-9360
77-9360
Contact us at support@powerplusparts.com to purchase |
|||
|
|
77-7980
77-7980
Contact us at support@powerplusparts.com to purchase |
|||
|
|
77-7990
77-7990
Contact us at support@powerplusparts.com to purchase |
|||
|
|
125-7565
125-7565
Contact us at support@powerplusparts.com to purchase |
|||
|
|
77-8140
77-8140
Contact us at support@powerplusparts.com to purchase |
|||
|
|
77-8000
77-8000
Contact us at support@powerplusparts.com to purchase |
|||
|
|
77-7940
77-7940
Contact us at support@powerplusparts.com to purchase |
|||
|
|
77-7040
77-7040
Contact us at support@powerplusparts.com to purchase |
|||
|
|
77-7920
77-7920
Contact us at support@powerplusparts.com to purchase |
|||
|
|
77-7930
77-7930
Contact us at support@powerplusparts.com to purchase |
Engine Gts 150

Engine Gts 150
| Sequence Number | Image | Product | Price | Add to cart |
|---|---|---|---|---|
|
|
77-8090
77-8090
Contact us at support@powerplusparts.com to purchase |
|||
|
|
77-8240
77-8240
Contact us at support@powerplusparts.com to purchase |
|||
|
|
Contact us at support@powerplusparts.com to purchase |
|||
|
|
77-9600
77-9600
Contact us at support@powerplusparts.com to purchase |
|||
|
|
Contact us at support@powerplusparts.com to purchase |
|||
|
|
Contact us at support@powerplusparts.com to purchase |
|||
|
|
Contact us at support@powerplusparts.com to purchase |
|||
|
|
Contact us at support@powerplusparts.com to purchase |
|||
|
|
77-7970
77-7970
Contact us at support@powerplusparts.com to purchase |
|||
|
|
77-9630
77-9630
Contact us at support@powerplusparts.com to purchase |
|||
|
|
Contact us at support@powerplusparts.com to purchase |
|||
|
|
77-8080
77-8080
Contact us at support@powerplusparts.com to purchase |
|||
|
|
77-8160
77-8160
Contact us at support@powerplusparts.com to purchase |
|||
|
|
77-8170
77-8170
Contact us at support@powerplusparts.com to purchase |
|||
|
|
Contact us at support@powerplusparts.com to purchase |
|||
|
|
77-7240
77-7240
Contact us at support@powerplusparts.com to purchase |
|||
|
|
Contact us at support@powerplusparts.com to purchase |
|||
|
|
77-8130
77-8130
Contact us at support@powerplusparts.com to purchase |
|||
|
|
77-9640
77-9640
Contact us at support@powerplusparts.com to purchase |
|||
|
|
Contact us at support@powerplusparts.com to purchase |
|||
|
|
77-8220
77-8220
Contact us at support@powerplusparts.com to purchase |
|||
|
|
77-8190
77-8190
Contact us at support@powerplusparts.com to purchase |
|||
|
|
77-8040
77-8040
Contact us at support@powerplusparts.com to purchase |
|||
|
|
Contact us at support@powerplusparts.com to purchase |
|||
|
|
Contact us at support@powerplusparts.com to purchase |
Engine Gts 150

Engine Gts 150
| Sequence Number | Image | Product | Price | Add to cart |
|---|---|---|---|---|
|
|
77-8330
77-8330
Contact us at support@powerplusparts.com to purchase |
|||
|
|
77-8340
77-8340
Contact us at support@powerplusparts.com to purchase |
|||
|
|
77-7170
77-7170
Contact us at support@powerplusparts.com to purchase |
|||
|
|
77-9360
77-9360
Contact us at support@powerplusparts.com to purchase |
|||
|
|
77-7450
77-7450
Contact us at support@powerplusparts.com to purchase |
|||
|
|
77-9660
77-9660
Contact us at support@powerplusparts.com to purchase |
|||
|
|
77-8310
77-8310
Contact us at support@powerplusparts.com to purchase |
|||
|
|
77-8360
77-8360
Contact us at support@powerplusparts.com to purchase |
|||
|
|
99-1005
99-1005
Contact us at support@powerplusparts.com to purchase |
|||
|
|
77-8440
77-8440
Contact us at support@powerplusparts.com to purchase |
|||
|
|
77-8400
77-8400
Contact us at support@powerplusparts.com to purchase |
|||
|
|
77-8350
77-8350
Contact us at support@powerplusparts.com to purchase |
|||
|
|
77-8010
77-8010
Contact us at support@powerplusparts.com to purchase |
|||
|
|
77-8430
77-8430
Contact us at support@powerplusparts.com to purchase |
|||
|
|
77-8860
77-8860
Contact us at support@powerplusparts.com to purchase |
|||
|
|
77-9460
77-9460
Contact us at support@powerplusparts.com to purchase |
|||
|
|
77-7140
77-7140
Contact us at support@powerplusparts.com to purchase |
|||
|
|
77-9180
77-9180
Contact us at support@powerplusparts.com to purchase |
Engine Gts 150

Engine Gts 150
| Sequence Number | Image | Product | Price | Add to cart |
|---|---|---|---|---|
|
|
77-8890
77-8890
Contact us at support@powerplusparts.com to purchase |
|||
|
|
77-9270
77-9270
Contact us at support@powerplusparts.com to purchase |
|||
|
|
77-8480
77-8480
Contact us at support@powerplusparts.com to purchase |
|||
|
|
77-7210
77-7210
Contact us at support@powerplusparts.com to purchase |
|||
|
|
77-8520
77-8520
Contact us at support@powerplusparts.com to purchase |
|||
|
|
77-8300
77-8300
Contact us at support@powerplusparts.com to purchase |
|||
|
|
77-8470
77-8470
Contact us at support@powerplusparts.com to purchase |
|||
|
|
77-8530
77-8530
Contact us at support@powerplusparts.com to purchase |
|||
|
|
77-8490
77-8490
Contact us at support@powerplusparts.com to purchase |
|||
|
|
77-8500
77-8500
Contact us at support@powerplusparts.com to purchase |
|||
|
|
77-8840
77-8840
Contact us at support@powerplusparts.com to purchase |
|||
|
|
77-8550
77-8550
Contact us at support@powerplusparts.com to purchase |
|||
|
|
77-8570
77-8570
Contact us at support@powerplusparts.com to purchase |
Engine Gts 150

Engine Gts 150
| Sequence Number | Image | Product | Price | Add to cart |
|---|---|---|---|---|
|
|
77-9360
77-9360
Contact us at support@powerplusparts.com to purchase |
|||
|
|
77-8640
77-8640
Contact us at support@powerplusparts.com to purchase |
|||
|
|
99-0999
99-0999
Contact us at support@powerplusparts.com to purchase |
|||
|
|
77-8660
77-8660
Contact us at support@powerplusparts.com to purchase |
|||
|
|
Contact us at support@powerplusparts.com to purchase |
Engine Gts 150

Engine Gts 150
| Sequence Number | Image | Product | Price | Add to cart |
|---|---|---|---|---|
|
|
Contact us at support@powerplusparts.com to purchase |
|||
|
|
Contact us at support@powerplusparts.com to purchase |
|||
|
|
99-0913
99-0913
Contact us at support@powerplusparts.com to purchase |
|||
|
|
99-0923
99-0923
Contact us at support@powerplusparts.com to purchase |
|||
|
|
Contact us at support@powerplusparts.com to purchase |
|||
|
|
Contact us at support@powerplusparts.com to purchase |
|||
|
|
Contact us at support@powerplusparts.com to purchase |
|||
|
|
Contact us at support@powerplusparts.com to purchase |
|||
|
|
Contact us at support@powerplusparts.com to purchase |
|||
|
|
Contact us at support@powerplusparts.com to purchase |
|||
|
|
Contact us at support@powerplusparts.com to purchase |
|||
|
|
77-9580
77-9580
Contact us at support@powerplusparts.com to purchase |
|||
|
|
Contact us at support@powerplusparts.com to purchase |
|||
|
|
Contact us at support@powerplusparts.com to purchase |
|||
|
|
Contact us at support@powerplusparts.com to purchase |
|||
|
|
Contact us at support@powerplusparts.com to purchase |
|||
|
|
Contact us at support@powerplusparts.com to purchase |
|||
|
|
77-8900
77-8900
Contact us at support@powerplusparts.com to purchase |
|||
|
|
Contact us at support@powerplusparts.com to purchase |
|||
|
|
Contact us at support@powerplusparts.com to purchase |
|||
|
|
Contact us at support@powerplusparts.com to purchase |
|||
|
|
94-1669
94-1669
Contact us at support@powerplusparts.com to purchase |
|||
|
|
Contact us at support@powerplusparts.com to purchase |
|||
|
|
Contact us at support@powerplusparts.com to purchase |
|||
|
|
77-8930
77-8930
Contact us at support@powerplusparts.com to purchase |
|||
|
|
Contact us at support@powerplusparts.com to purchase |
|||
|
|
Contact us at support@powerplusparts.com to purchase |
|||
|
|
Contact us at support@powerplusparts.com to purchase |
Gas Tank Assembly

Gas Tank Assembly
| Sequence Number | Image | Product | Price | Add to cart |
|---|---|---|---|---|
|
|
55-3575
55-3575
Contact us at support@powerplusparts.com to purchase |
|||
|
|
117-3510
117-3510
Contact us at support@powerplusparts.com to purchase |
|||
|
|
2412-95
2412-95
Contact us at support@powerplusparts.com to purchase |
|||
|
|
51-3210
51-3210
Contact us at support@powerplusparts.com to purchase |
|||
|
|
139-5916
139-5916
Contact us at support@powerplusparts.com to purchase |
|||
|
|
84-9170-03
84-9170-03
Contact us at support@powerplusparts.com to purchase |
|||
|
|
46-8091
46-8091
Contact us at support@powerplusparts.com to purchase |
|||
|
|
323-6
323-6
Contact us at support@powerplusparts.com to purchase |
Gear Case Assembly

Gear Case Assembly
| Sequence Number | Image | Product | Price | Add to cart |
|---|---|---|---|---|
|
|
74-1860
74-1860
Contact us at support@powerplusparts.com to purchase |
|||
|
|
121-1379
121-1379
Contact us at support@powerplusparts.com to purchase |
|||
|
|
52-2450
52-2450
Contact us at support@powerplusparts.com to purchase |
|||
|
|
74-1851
74-1851
Contact us at support@powerplusparts.com to purchase |
|||
|
|
117-3500
117-3500
Contact us at support@powerplusparts.com to purchase |
|||
|
|
25-7740
25-7740
Contact us at support@powerplusparts.com to purchase |
|||
|
|
66-7561
66-7561
Contact us at support@powerplusparts.com to purchase |
|||
|
|
92-6316
92-6316
Contact us at support@powerplusparts.com to purchase |
|||
|
|
48-2170
48-2170
Contact us at support@powerplusparts.com to purchase |
|||
|
|
74-1890
74-1890
Contact us at support@powerplusparts.com to purchase |
|||
|
|
13-5149
13-5149
Contact us at support@powerplusparts.com to purchase |
|||
|
|
13-9739
13-9739
Contact us at support@powerplusparts.com to purchase |
|||
|
|
47-7270
47-7270
Contact us at support@powerplusparts.com to purchase |
|||
|
|
36-4792
36-4792
Contact us at support@powerplusparts.com to purchase |
|||
|
|
302-63
302-63
Contact us at support@powerplusparts.com to purchase |
|||
|
|
36-8070
36-8070
Contact us at support@powerplusparts.com to purchase |
|||
|
|
39-6740
39-6740
Contact us at support@powerplusparts.com to purchase |
|||
|
|
3296-5
3296-5
Contact us at support@powerplusparts.com to purchase |
|||
|
|
74-1750-03
74-1750-03
Contact us at support@powerplusparts.com to purchase |
|||
|
|
49-8461
49-8461
Contact us at support@powerplusparts.com to purchase |
|||
|
|
32121-99
32121-99
Contact us at support@powerplusparts.com to purchase |
|||
|
|
47-6730
47-6730
Contact us at support@powerplusparts.com to purchase |
|||
|
|
74-1960
74-1960
Contact us at support@powerplusparts.com to purchase |
|||
|
|
60-8870
60-8870
Contact us at support@powerplusparts.com to purchase |
|||
|
|
29-9690
29-9690
Contact us at support@powerplusparts.com to purchase |
|||
|
|
46-3560
46-3560
Contact us at support@powerplusparts.com to purchase |
|||
|
|
36-4770
36-4770
Contact us at support@powerplusparts.com to purchase |
|||
|
|
29-9271
29-9271
Contact us at support@powerplusparts.com to purchase |
|||
|
|
42-4740
42-4740
Contact us at support@powerplusparts.com to purchase |
|||
|
|
55-8020
55-8020
Contact us at support@powerplusparts.com to purchase |
|||
|
|
29-9330
29-9330
Contact us at support@powerplusparts.com to purchase |
|||
|
|
39-6720
39-6720
Contact us at support@powerplusparts.com to purchase |
|||
|
|
29-9340
29-9340
Contact us at support@powerplusparts.com to purchase |
|||
|
|
36-4780
36-4780
Contact us at support@powerplusparts.com to purchase |
|||
|
|
55-8010
55-8010
Contact us at support@powerplusparts.com to purchase |
|||
|
|
3285-19
3285-19
Contact us at support@powerplusparts.com to purchase |
|||
|
|
49-2040
49-2040
Contact us at support@powerplusparts.com to purchase |
|||
|
|
29-9570
29-9570
Contact us at support@powerplusparts.com to purchase |
|||
|
|
119-7863
119-7863
Contact us at support@powerplusparts.com to purchase |
|||
|
|
612066
612066
Contact us at support@powerplusparts.com to purchase |
|||
|
|
39-9650
39-9650
Contact us at support@powerplusparts.com to purchase |
|||
|
|
49-7700
49-7700
Contact us at support@powerplusparts.com to purchase |
|||
|
|
62-3830
62-3830
Contact us at support@powerplusparts.com to purchase |
|||
|
|
39-9160
39-9160
Contact us at support@powerplusparts.com to purchase |
|||
|
|
65-2720
65-2720
Contact us at support@powerplusparts.com to purchase |
|||
|
|
321-2
321-2
Contact us at support@powerplusparts.com to purchase |
|||
|
|
121-1378-06
121-1378-06
Contact us at support@powerplusparts.com to purchase |
|||
|
|
53-7740
53-7740
Contact us at support@powerplusparts.com to purchase |
|||
|
|
52-2410
52-2410
Contact us at support@powerplusparts.com to purchase |
|||
|
|
121-1365-06
121-1365-06
Contact us at support@powerplusparts.com to purchase |
|||
|
|
3296-42
3296-42
Contact us at support@powerplusparts.com to purchase |
|||
|
|
52-2440
52-2440
Contact us at support@powerplusparts.com to purchase |
|||
|
|
52-2450
52-2450
Contact us at support@powerplusparts.com to purchase |
|||
|
|
323-13
323-13
Contact us at support@powerplusparts.com to purchase |
|||
|
|
74-1650
74-1650
Contact us at support@powerplusparts.com to purchase |
|||
|
|
74-1640
74-1640
Contact us at support@powerplusparts.com to purchase |
|||
|
|
32152-2
32152-2
Contact us at support@powerplusparts.com to purchase |
|||
|
|
74-1810
74-1810
Contact us at support@powerplusparts.com to purchase |
|||
|
|
32151-36
32151-36
Contact us at support@powerplusparts.com to purchase |
|||
|
|
74-1760
74-1760
Contact us at support@powerplusparts.com to purchase |
|||
|
|
39-6650
39-6650
Contact us at support@powerplusparts.com to purchase |
|||
|
|
46-3550
46-3550
Contact us at support@powerplusparts.com to purchase |
|||
|
|
46-3540
46-3540
Contact us at support@powerplusparts.com to purchase |
|||
|
|
53-7950
53-7950
Contact us at support@powerplusparts.com to purchase |
|||
|
|
39-7842
39-7842
Contact us at support@powerplusparts.com to purchase |
|||
|
|
252-103
252-103
Contact us at support@powerplusparts.com to purchase |
|||
|
|
32151-57
32151-57
Contact us at support@powerplusparts.com to purchase |
|||
|
|
39-6660
39-6660
Contact us at support@powerplusparts.com to purchase |
|||
|
|
47-2910
47-2910
Contact us at support@powerplusparts.com to purchase |
|||
|
|
47-7260
47-7260
Contact us at support@powerplusparts.com to purchase |
|||
|
|
3257-1
3257-1
Contact us at support@powerplusparts.com to purchase |
|||
|
|
3256-45
3256-45
Contact us at support@powerplusparts.com to purchase |
Grass Bag Assembly No 11 5609

Grass Bag Assembly No 11 5609
| Sequence Number | Image | Product | Price | Add to cart |
|---|---|---|---|---|
|
|
121-1389
121-1389
Contact us at support@powerplusparts.com to purchase |
|||
|
|
3290-422
3290-422
Contact us at support@powerplusparts.com to purchase |
|||
|
|
33-4820
33-4820
Contact us at support@powerplusparts.com to purchase |
|||
|
|
36-6910
36-6910
Contact us at support@powerplusparts.com to purchase |
|||
|
|
121-1388
121-1388
Contact us at support@powerplusparts.com to purchase |
|||
|
|
44-0522
44-0522
Contact us at support@powerplusparts.com to purchase |
|||
|
|
42-4020
42-4020
Contact us at support@powerplusparts.com to purchase |
Handle Assembly

Handle Assembly
| Sequence Number | Image | Product | Price | Add to cart |
|---|---|---|---|---|
|
|
100-3297-03
100-3297-03
Contact us at support@powerplusparts.com to purchase |
|||
|
|
98-2000-03
98-2000-03
Contact us at support@powerplusparts.com to purchase |
|||
|
|
48-2810
48-2810
Contact us at support@powerplusparts.com to purchase |
|||
|
|
321-15
321-15
Contact us at support@powerplusparts.com to purchase |
|||
|
|
321-13
321-13
Contact us at support@powerplusparts.com to purchase |
|||
|
|
322-10
322-10
Contact us at support@powerplusparts.com to purchase |
|||
|
|
49-1630
49-1630
Contact us at support@powerplusparts.com to purchase |
|||
|
|
93-3661
93-3661
Contact us at support@powerplusparts.com to purchase |
|||
|
|
46-6980
46-6980
Contact us at support@powerplusparts.com to purchase |
|||
|
|
3256-22
3256-22
Contact us at support@powerplusparts.com to purchase |
|||
|
|
3296-42
3296-42
Contact us at support@powerplusparts.com to purchase |
|||
|
|
46-8081
46-8081
Contact us at support@powerplusparts.com to purchase |
|||
|
|
77-5270
77-5270
Contact us at support@powerplusparts.com to purchase |
|||
|
|
3296-58
3296-58
Contact us at support@powerplusparts.com to purchase |
|||
|
|
66-5350
66-5350
Contact us at support@powerplusparts.com to purchase |
|||
|
|
32151-86
32151-86
Contact us at support@powerplusparts.com to purchase |
|||
|
|
106-0690
106-0690
Contact us at support@powerplusparts.com to purchase |
|||
|
|
61-8270-03
61-8270-03
Contact us at support@powerplusparts.com to purchase |
|||
|
|
321-4
321-4
Contact us at support@powerplusparts.com to purchase |
|||
|
|
256-276
256-276
Contact us at support@powerplusparts.com to purchase |
|||
|
|
82-9950
82-9950
Contact us at support@powerplusparts.com to purchase |
|||
|
|
3-7501
3-7501
Contact us at support@powerplusparts.com to purchase |
|||
|
|
3211-7
3211-7
Contact us at support@powerplusparts.com to purchase |
|||
|
|
3290-378
3290-378
Contact us at support@powerplusparts.com to purchase |
|||
|
|
3296-29
3296-29
Contact us at support@powerplusparts.com to purchase |
|||
|
|
3290-456
3290-456
Contact us at support@powerplusparts.com to purchase |
|||
|
|
322-7
322-7
Contact us at support@powerplusparts.com to purchase |
|||
|
|
322-6
322-6
Contact us at support@powerplusparts.com to purchase |
|||
|
|
3-3287
3-3287
Contact us at support@powerplusparts.com to purchase |
|||
|
|
100-3298-03
100-3298-03
Contact us at support@powerplusparts.com to purchase |
|||
|
|
70-1063
70-1063
Contact us at support@powerplusparts.com to purchase |
|||
|
|
3296-47
3296-47
Contact us at support@powerplusparts.com to purchase |
|||
|
|
74-1791
74-1791
Contact us at support@powerplusparts.com to purchase |
|||
|
|
321-9
321-9
Contact us at support@powerplusparts.com to purchase |
|||
|
|
27-7210
27-7210
Contact us at support@powerplusparts.com to purchase |
Housing Assembly

Housing Assembly
| Sequence Number | Image | Product | Price | Add to cart |
|---|---|---|---|---|
|
|
Contact us at support@powerplusparts.com to purchase |
|||
|
|
121-1380
121-1380
Contact us at support@powerplusparts.com to purchase |
|||
|
|
61-8300
61-8300
Contact us at support@powerplusparts.com to purchase |
|||
|
|
49-8770
49-8770
Contact us at support@powerplusparts.com to purchase |
|||
|
|
49-2040
49-2040
Contact us at support@powerplusparts.com to purchase |
|||
|
|
14-9499
14-9499
Contact us at support@powerplusparts.com to purchase |
|||
|
|
32144-11
32144-11
Contact us at support@powerplusparts.com to purchase |
|||
|
|
92-1730
92-1730
Contact us at support@powerplusparts.com to purchase |
|||
|
|
39-5770
39-5770
Contact us at support@powerplusparts.com to purchase |
|||
|
|
46-6810
46-6810
Contact us at support@powerplusparts.com to purchase |
|||
|
|
82-9150
82-9150
Contact us at support@powerplusparts.com to purchase |
|||
|
|
3256-22
3256-22
Contact us at support@powerplusparts.com to purchase |
|||
|
|
71-9350
71-9350
Contact us at support@powerplusparts.com to purchase |
|||
|
|
46-6811
46-6811
Contact us at support@powerplusparts.com to purchase |
|||
|
|
76-4660
76-4660
Contact us at support@powerplusparts.com to purchase |
|||
|
|
80-3770
80-3770
Contact us at support@powerplusparts.com to purchase |
|||
|
|
77-0200
77-0200
Contact us at support@powerplusparts.com to purchase |
|||
|
|
76-4570
76-4570
Contact us at support@powerplusparts.com to purchase |
|||
|
|
46-8090
46-8090
Contact us at support@powerplusparts.com to purchase |
|||
|
|
321-7
321-7
Contact us at support@powerplusparts.com to purchase |
|||
|
|
3296-42
3296-42
Contact us at support@powerplusparts.com to purchase |
|||
|
|
77-0500
77-0500
Contact us at support@powerplusparts.com to purchase |
|||
|
|
76-4640
76-4640
Contact us at support@powerplusparts.com to purchase |
|||
|
|
76-4650
76-4650
Contact us at support@powerplusparts.com to purchase |
|||
|
|
92-1750
92-1750
Contact us at support@powerplusparts.com to purchase |
|||
|
|
3295-35
3295-35
Contact us at support@powerplusparts.com to purchase |
|||
|
|
37-7260
37-7260
Contact us at support@powerplusparts.com to purchase |
|||
|
|
86-5231
86-5231
Contact us at support@powerplusparts.com to purchase |
|||
|
|
119-7894
119-7894
Contact us at support@powerplusparts.com to purchase |
|||
|
|
46-7030
46-7030
Contact us at support@powerplusparts.com to purchase |
|||
|
|
74-1970
74-1970
Contact us at support@powerplusparts.com to purchase |
|||
|
|
74-1741
74-1741
Contact us at support@powerplusparts.com to purchase |
|||
|
|
32144-70
32144-70
Contact us at support@powerplusparts.com to purchase |
|||
|
|
49-8740
49-8740
Contact us at support@powerplusparts.com to purchase |
|||
|
|
33-3208
33-3208
Contact us at support@powerplusparts.com to purchase |
|||
|
|
4-0580
4-0580
Contact us at support@powerplusparts.com to purchase |
|||
|
|
25-7740
25-7740
Contact us at support@powerplusparts.com to purchase |
|||
|
|
66-7560
66-7560
Contact us at support@powerplusparts.com to purchase |
|||
|
|
114-3468
114-3468
Contact us at support@powerplusparts.com to purchase |
|||
|
|
53-7740
53-7740
Contact us at support@powerplusparts.com to purchase |
|||
|
|
52-2410
52-2410
Contact us at support@powerplusparts.com to purchase |
|||
|
|
52-2440
52-2440
Contact us at support@powerplusparts.com to purchase |
|||
|
|
52-2450
52-2450
Contact us at support@powerplusparts.com to purchase |
|||
|
|
121-1365-06
121-1365-06
Contact us at support@powerplusparts.com to purchase |
|||
|
|
323-12
323-12
Contact us at support@powerplusparts.com to purchase |
|||
|
|
52-2480
52-2480
Contact us at support@powerplusparts.com to purchase |
|||
|
|
321-2
321-2
Contact us at support@powerplusparts.com to purchase |
|||
|
|
257-3
257-3
Contact us at support@powerplusparts.com to purchase |
|||
|
|
32152-2
32152-2
Contact us at support@powerplusparts.com to purchase |
|||
|
|
40-1940
40-1940
Contact us at support@powerplusparts.com to purchase |
|||
|
|
3296-6
3296-6
Contact us at support@powerplusparts.com to purchase |
|||
|
|
49-8760
49-8760
Contact us at support@powerplusparts.com to purchase |
|||
|
|
92-8781
92-8781
Contact us at support@powerplusparts.com to purchase |
|||
|
|
92-1720
92-1720
Contact us at support@powerplusparts.com to purchase |
|||
|
|
71-1280
71-1280
Contact us at support@powerplusparts.com to purchase |
|||
|
|
71-9370
71-9370
Contact us at support@powerplusparts.com to purchase |
SUBSCRIBE AND GET EXCLUSIVE DEALS!
Subscribe to our newsletter TODAY and GET $10 OFF your next order of $100 or more. Our newsletter contains special offers, discounts and updates on new EGO products
